Operation CHARM: Car repair manuals for everyone.
Manuals through 2025 now available!

Our trusted friends have launched a new website named LEMON, which has newer manuals. It also contains all the CHARM manuals.

LEMON is the spiritual successor to CHARM, I recommend you try it!

Link: lemon-manuals.la or lemon-manuals.org.ua

(Some people have issue connecting. LEMON is investigating. For now, use Firefox or change your DNS server)

Or, hide this message: temporarily or permanently

Alarm Module: Service and Repair

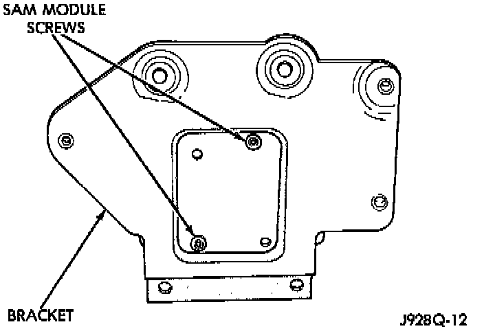
Security System Module Location:





1. Remove two nuts holding the bracket that mounts the ABS module (if equipped) and SAM module. The bracket is on the drivers side of the Heater-A/C Housing.

ABS Module:





2. Remove 3 recessed alien head screws holding the ABS module to the bracket (if equipped).

SAM Module:





3. Remove 2 torx head screws holding the SAM module to the bracket.
4. Disconnect the electrical connector from the SAM module.
5. For installation, reverse the removal procedures.