Operation CHARM: Car repair manuals for everyone.
Manuals through 2025 now available!

Our trusted friends have launched a new website named LEMON, which has newer manuals. It also contains all the CHARM manuals.

LEMON is the spiritual successor to CHARM, I recommend you try it!

Link: lemon-manuals.la or lemon-manuals.org.ua

(Some people have issue connecting. LEMON is investigating. For now, use Firefox or change your DNS server)

Or, hide this message: temporarily or permanently

Emission Control Systems: Description and Operation

EVAPORATION CONTROL SYSTEM
The evaporation control system prevents the emission of fuel tank vapors into the atmosphere. When fuel evaporates in the fuel tank, the vapors pass through vent hoses or tubes to a charcoal filled evaporative canister. The canister temporarily holds the vapors. The Powertrain Control Module (PCM) allows intake manifold vacuum to draw vapors into the combustion chambers during certain operating conditions.

All engines use a duty cycle purge system. The PCM controls vapor flow by operating the duty cycle EVAP purge solenoid. Refer to Duty Cycle EVAP Canister Purge Solenoid.

When equipped with certain emissions packages, a Leak Detection Pump (LDP) will be used as part of the evaporative system for OBD II requirements. Also refer to Leak Detection Pump.

NOTE: The evaporative system uses specially manufactured lines/hoses. If replacement becomes necessary, only use fuel resistant hose.

CCV SYSTEM
The 4.0L 6-cylinder engine is equipped with a Crankcase Ventilation (CCV) system. The system consists of:

Fig.1 CCV System:




- A fixed orifice fitting of a calibrated size. This fitting is pressed into a rubber grommet located on the top/rear of cylinder head (valve) cover.
- a pair of breather tubes (lines) to connect the system components.
- the air cleaner housing.
- an air inlet fitting.

The CCV system performs the same function as a conventional PCV system, but does not use a vacuum controlled PCV valve.

The fixed orifice fitting meters the amount of crankcase vapors drawn out of the engine.

When the engine is operating, fresh air enters the engine and mixes with crankcase vapors. Engine vacuum draws the vapor/air mixture through the fixed orifice and into the intake manifold. The vapors are then consumed during engine combustion.

PCV SYSTEM
The 4.7L V-8 engine is equipped with a closed crankcase ventilation system and a Positive Crankcase Ventilation ([1][2]PCV) valve.

This system consists of:

Fig.2 PCV Valve/Oil Filler Tube (Housing):




- a PCV valve mounted to the oil filler housing. The PCV valve is sealed to the oil filler housing with an O-ring.
- the air cleaner housing

Fig.3 PCV System Hoses/Tubes:




- two interconnected breathers threaded into the rear of each cylinder head.
- tubes and hose to connect the system components.

The PCV system operates by engine intake manifold vacuum. Filtered air is routed into the crankcase through the air cleaner hose and crankcase breathers. The metered air, along with crankcase vapors, are drawn through the PCV valve and into a passage in the intake manifold. The PCV system manages crankcase pressure and meters blow-by gases to the intake system, reducing engine sludge formation.

The PCV valve contains a spring loaded plunger. This plunger meters the amount of crankcase vapors routed into the combustion chamber based on intake manifold vacuum.

Fig.4 Engine OFF Or Engine Pop Back - No Vapor Flow:




Fig.5 High Intake Manifold Vacuum - Maximum Vapor Flow:




Fig.6 Moderate Intake Manifold Vacuum - Maximum Vapor Flow:




TYPICAL PCV valves are shown in, and.

When the engine is not operating, or during an engine pop-back, the spring forces the plunger back against the seat. This will prevent vapors from flowing through the valve.

During periods of high manifold vacuum, such as idle or cruising speeds, vacuum is sufficient to completely compress spring. It will then pull the plunger to the top of the valve. In this position there is minimal vapor flow through the valve.

During periods of moderate manifold vacuum, the plunger is only pulled part way back from inlet. This results in maximum vapor flow through the valve.

EVAP/PURGE SOLENOID.
The duty cycle EVAP canister purge solenoid (DCP) regulates the rate of vapor flow from the EVAP canister to the intake manifold. The Powertrain Control Module (PCM) operates the solenoid.

During the cold start warm-up period and the hot start time delay, the PCM does not energize the solenoid. When de-energized, no vapors are purged. The PCM de-energizes the solenoid during open loop operation.

The engine enters closed loop operation after it reaches a specified temperature and the time delay ends. During closed loop operation, the PCM cycles (energizes and de-energizes) the solenoid 5 or 10 times per second, depending upon operating conditions. The PCM varies the vapor flow rate by changing solenoid pulse width. Pulse width is the amount of time that the solenoid is energized. The PCM adjusts solenoid pulse width based on engine operating condition.

FUEL FILLER CAP
The plastic fuel tank filler tube cap is threaded onto the end of the fuel fill tube. Certain models are equipped with a 1/4 turn cap.

The loss of any fuel or vapor out of fuel filler tube is prevented by the use of a pressure-vacuum fuel fill cap. Relief valves inside the cap will release fuel tank pressure at predetermined pressures. Fuel tank vacuum will also be released at predetermined values. This cap must be replaced by a similar unit if replacement is necessary. This is in order for the system to remain effective.

CAUTION: Remove fill cap before servicing any fuel system component to relieve tank pressure. If equipped with a California emissions package and a Leak Detection Pump (LDP), the cap must be tightened securely. If cap is left loose, a Diagnostic Trouble Code (DTC) may be set.

LEAK DETECTION PUMP
The Leak Detection Pump (LDP) is used only with certain emission packages.

The LDP is a device used to detect a leak in the evaporative system.

The pump contains a 3 port solenoid, a pump that contains a switch, a spring loaded canister vent valve seal, 2 check valves and a spring/diaphragm.

Immediately after a cold start, engine temperature between 40 °F and 86 °F, the 3 port solenoid is briefly energized. This initializes the pump by drawing air into the pump cavity and also closes the vent seal. During non-test test conditions, the vent seal is held open by the pump diaphragm assembly which pushes it open at the full travel position. The vent seal will remain closed while the pump is cycling. This is due to the operation of the 3 port solenoid which prevents the diaphragm assembly from reaching full travel. After the brief initialization period, the solenoid is de-energized, allowing atmospheric pressure to enter the pump cavity. This permits the spring to drive the diaphragm which forces air out of the pump cavity and into the vent system. When the solenoid is energized and de-energized, the cycle is repeated creating flow in typical diaphragm pump fashion. The pump is controlled in 2 modes:

PUMP MODE: The pump is cycled at a fixed rate to achieve a rapid pressure build in order to shorten the overall test time.

TEST MODE: The solenoid is energized with a fixed duration pulse. Subsequent fixed pulses occur when the diaphragm reaches the switch closure point.

The spring in the pump is set so that the system will achieve an equalized pressure of about 7.5 inches of water.

When the pump starts, the cycle rate is quite high. As the system becomes pressurized pump rate drops. If there is no leak the pump will quit. If there is a leak, the test is terminated at the end of the test mode.

If there is no leak, the purge monitor is run. If the cycle rate increases due to the flow through the purge system, the test is passed and the diagnostic is complete.

The canister vent valve will unseal the system after completion of the test sequence as the pump diaphragm assembly moves to the full travel position.

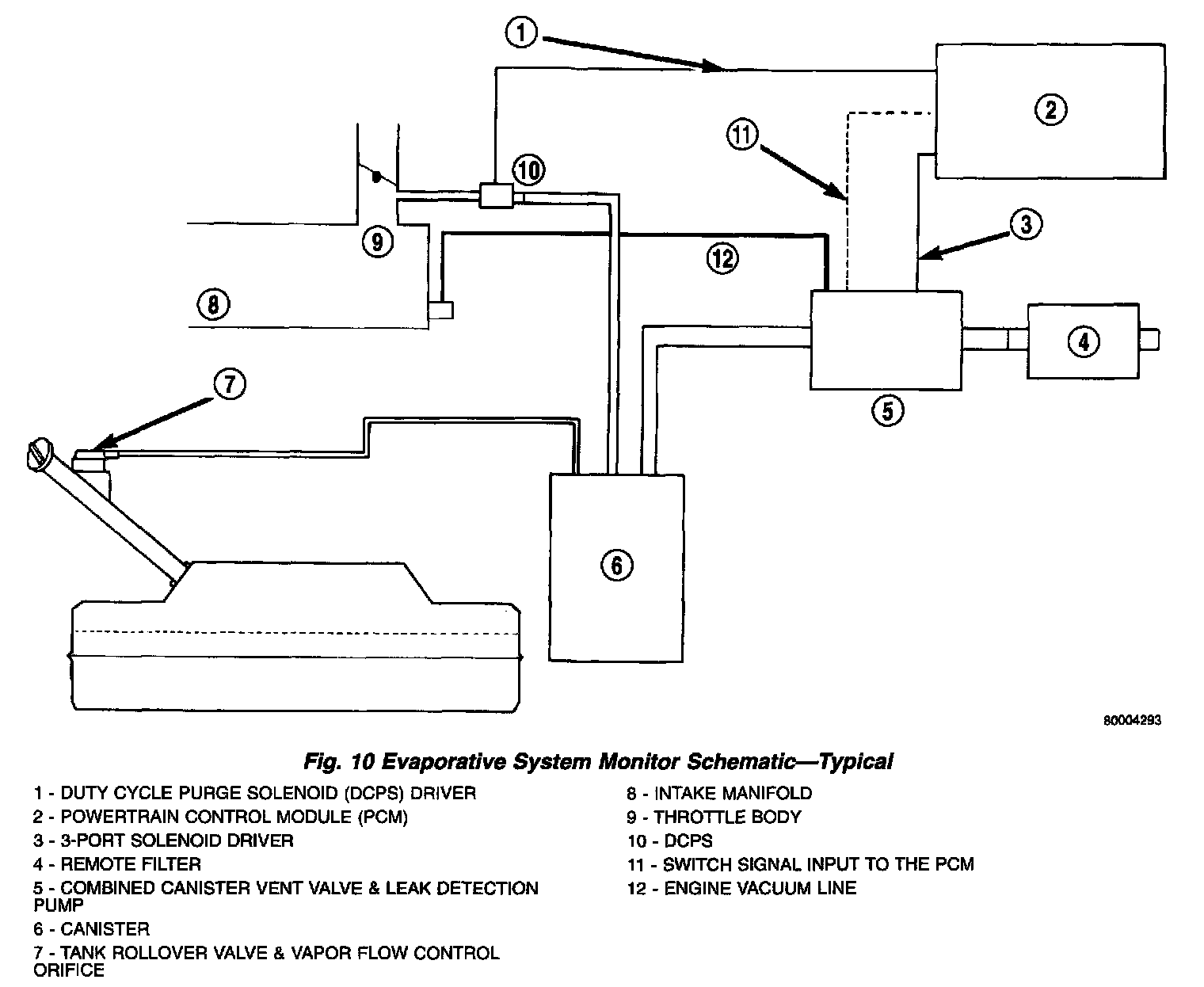
Fig.10 Evaporative System Monitor Schematic - Typical:




A typical system schematic is shown in.

VAPOR CANISTER
A maintenance free, EVAP canister is used on all vehicles. The EVAP canister is filled with granules of an activated carbon mixture. Fuel vapors entering the EVAP canister are absorbed by the charcoal granules.

Fuel tank pressure vents into the EVAP canister. Fuel vapors are temporarily held in the canister until they can be drawn into the intake manifold. The duty cycle EVAP canister purge solenoid allows the EVAP canister to be purged at predetermined times and at certain engine operating conditions.