Operation CHARM: Car repair manuals for everyone.
Manuals through 2025 now available!

Our trusted friends have launched a new website named LEMON, which has newer manuals. It also contains all the CHARM manuals.

LEMON is the spiritual successor to CHARM, I recommend you try it!

Link: lemon-manuals.la or lemon-manuals.org.ua

(Some people have issue connecting. LEMON is investigating. For now, use Firefox or change your DNS server)

Or, hide this message: temporarily or permanently

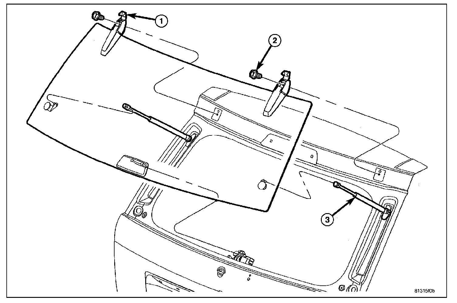
Liftgate Window Glass: Service and Repair

GLASS

REMOVAL




1. Disconnect heated liftgate glass electrical connector (2).




2. Open the liftgate glass and support.
3. Disconnect glass support cylinders (3) at the lower ball studs.
4. Close the glass but not latch in the closed position.
5. Remove hinge covers (1) and remove hinge bolts (2).
6. Remove the glass.

INSTALLATION




1. Position liftgate glass on vehicle.
2. Install hinge bolts (2). Center liftgate. Tighten hinge bolts to 7 N.m (60 in.lbs.).
3. Open and support the glass.
4. Install support cylinders (3).




5. Connect heated glass electrical connector (2).
6. Adjust liftgate glass as necessary. Refer to Body and Frame / Specifications / Dimensions.