Operation CHARM: Car repair manuals for everyone.
Manuals through 2025 now available!

Our trusted friends have launched a new website named LEMON, which has newer manuals. It also contains all the CHARM manuals.

LEMON is the spiritual successor to CHARM, I recommend you try it!

Link: lemon-manuals.la or lemon-manuals.org.ua

(Some people have issue connecting. LEMON is investigating. For now, use Firefox or change your DNS server)

Or, hide this message: temporarily or permanently

Front Cross-Member: Service and Repair

ENGINE CRADLE CROSSMEMBER

REMOVAL




1. Install engine support tool 8534 or equivalent.




2. Raise and support the vehicle.
3. Remove the lower control arms.




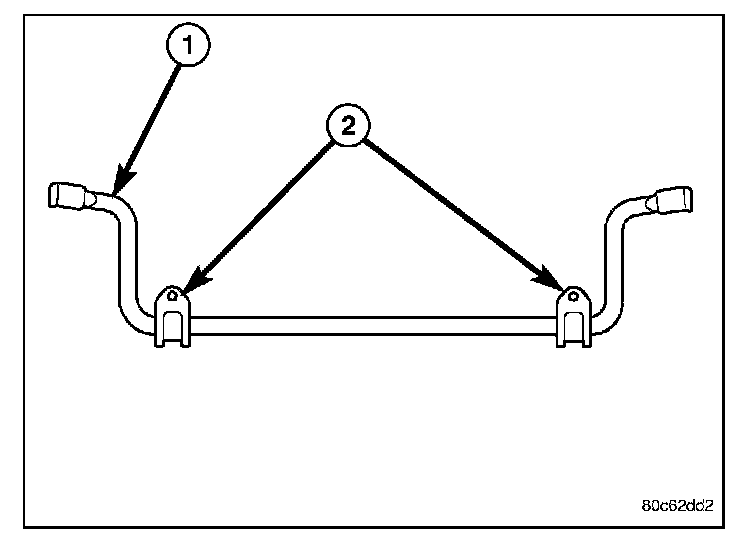
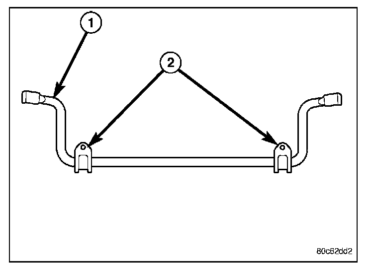
4. Remove the stabilizer bar.




5. Remove the front axle, if equipped.




6. Remove the power steering rack.
7. Loosen the engine mount through bolts.
8. Support the engine cradle with a suitable lifting device.
9. Using a grease pencil or equivalent, mark the location of the engine support cradle.




10. Remove the engine cradle support bolts and remove the engine cradle.

INSTALLATION

1. Raise and support the vehicle.
2. Using a suitable lifting device raise the engine cradle into the vehicle while lining up the engine mount through bolts.




3. Align the engine cradle to the marks made during removal and install the mounting and inner rail bolts.
4. Tighten the mounting front bolts to 122 N.m (90 ft.lbs.) and tighten the rear bolts to 115 N.m (85 ft.lbs.).
5. Tighten the engine mount through bolts to 88 N.m (65 ft.lbs.).




6. Install the power steering rack.
7. Install the front axle, if equipped.




8. Install the stabilizer bar.




9. Install the lower control arms.




10. Lower the vehicle and remove the engine support tool.