Operation CHARM: Car repair manuals for everyone.
Manuals through 2025 now available!

Our trusted friends have launched a new website named LEMON, which has newer manuals. It also contains all the CHARM manuals.

LEMON is the spiritual successor to CHARM, I recommend you try it!

Link: lemon-manuals.la or lemon-manuals.org.ua

(Some people have issue connecting. LEMON is investigating. For now, use Firefox or change your DNS server)

Or, hide this message: temporarily or permanently

Tailgate: Service and Repair

SWING GATE

REMOVAL

1. Remove the spare tire.
2. Remove the quarter trim panel. Refer to Trim Panel.
3. Support the swing gate with a suitable lifting device.
4. Disconnect the wire harness.
5. Disconnect the check strap from the D-pillar.




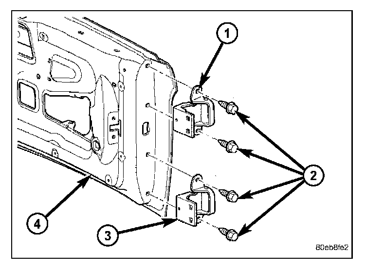
6. Remove the bolts (2) and remove the swing gate.

INSTALLATION




1. Install the swing gate (4) and install the bolts (2).
2. Tighten the bolts to 31 N.m (23 ft.lbs.).
3. Adjust the swing gate as needed adding 3 mm on the right side to compensate for sag after the spare tire is installed.
4. Connect the wire harness electrical connector.
5. Connect the check strap.
6. Install the quarter trim panel.
7. Install the spare tire.