Operation CHARM: Car repair manuals for everyone.
Manuals through 2025 now available!

Our trusted friends have launched a new website named LEMON, which has newer manuals. It also contains all the CHARM manuals.

LEMON is the spiritual successor to CHARM, I recommend you try it!

Link: lemon-manuals.la or lemon-manuals.org.ua

(Some people have issue connecting. LEMON is investigating. For now, use Firefox or change your DNS server)

Or, hide this message: temporarily or permanently

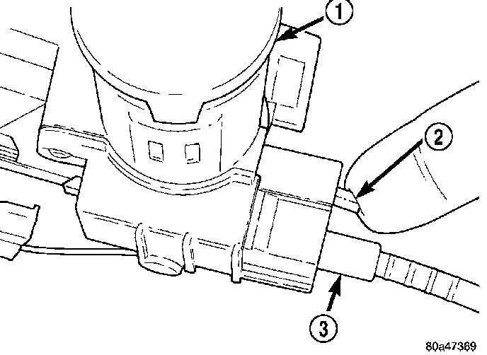
Shift Interlock: Service and Repair

PARK INTERLOCK CABLE

REMOVAL





1. Lower the steering column.
2. With the ignition switch in the "RUN" position depress the park-interlock cable locking tab (2), located on top of the cable connector at the steering column and pull the cable straight out.





3. Remove the park-interlock cable from steering column.
4. Remove the floor console and related trim.
5. Disconnect the park-interlock cable (3) from the shift lever assembly and remove the cable from the shifter assembly bracket.
6. Release the park-interlock cable from any remaining clips.
7. Remove park-interlock cable from the vehicle.

INSTALLATION

NOTE: The gearshift cable must be secured into position and properly adjusted before the installation of the Park-interlock Cable.





1. Push the park-interlock cable (3) straight into the square mounting hole in the steering column until cable snaps in place.
2. Snap park-interlock cable tie strap into hole in steering column tube.





3. Route cable to the shifter mechanism.
4. Install the cable end fitting into shifter lever (1).
5. Snap cable adjuster ears into floor shifter bracket.
6. Place the ignition key cylinder in the LOCK position.
7. Push the cable adjuster lock clamp downward to lock it.
8. Test the park-interlock cable operation.
9. Install the floor console and related trim.