Operation CHARM: Car repair manuals for everyone.
Manuals through 2025 now available!

Our trusted friends have launched a new website named LEMON, which has newer manuals. It also contains all the CHARM manuals.

LEMON is the spiritual successor to CHARM, I recommend you try it!

Link: lemon-manuals.la or lemon-manuals.org.ua

(Some people have issue connecting. LEMON is investigating. For now, use Firefox or change your DNS server)

Or, hide this message: temporarily or permanently

Power Seat Control Module: Description and Operation

HEATED SEAT MODULE

DESCRIPTION




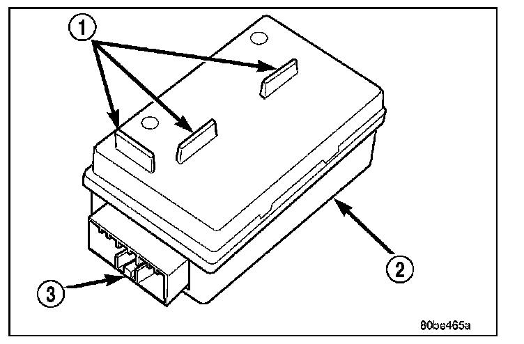
The heated seat module (2) is also known as the Seat Heat Interface Module. The heated seat module (2) is located under the left front seat cushion, where it is secured to a mounting bracket via two push-pin retainers. The heated seat module has a single connector receptacle (3) that allows the module to be connected to all of the required inputs and outputs through the seat wire harness.

The heated seat module (2) is an electronic microprocessor controlled device designed and programmed to use inputs from the heated seat relay, the two heated seat switches and the two heated seat sensors to operate and control the heated seat elements in both front seats and the two heated seat indicator lamp Light-Emitting Diodes (LEDs) in each heated seat switch. The heated seat module is also programmed to perform self-diagnosis of certain heated seat system functions and provide feedback of that diagnosis through the heated seat switch indicator lamps.

The heated seat module (2) cannot be repaired. If the heated seat module is damaged or faulty, the entire module must be replaced.

OPERATION
The heated seat module operates on fused battery current received from a fuse in the junction block. The module is grounded at all times. Inputs to the module include a resistor multiplexed heated seat switch request circuit for each of the two heated seat switches and the heated seat sensor inputs from the seat cushions of each front seat. In response to those inputs, the heated seat module controls battery current to the heated seat elements and sensors, and controls the ground for the heated seat switch indicator lamps (LED's).

When a heated seat switch (Driver or Passenger) is depressed a signal is received by the heated seat module, the module energizes the proper indicator LED (Low or High) in the switch by grounding the indicator lamp circuit to indicate that the heated seat system is operating. At the same time, the heated seat module energizes the selected heated seat sensor circuit and the sensor provides the module with an input indicating the surface temperature of the selected seat cushion.

The Low heat set point is about 36° C (96.8° F), and the High heat set point is about 42° C (107.6° F). If the seat cushion surface temperature input is below the temperature set point for the selected temperature setting, the heated seat module energizes an N-channel Field Effect Transistor (N-FET) within the module which energizes the heated seat elements in the selected seat cushion and back. When the sensor input to the module indicates the correct temperature set point has been achieved, the module de-energizes the N-FET which de-energizes the heated seat elements. The heated seat module will continue to cycle the N-FET as needed to maintain the selected temperature set point.

If the heated seat module detects a heated seat sensor value input that is out of range or a shorted or open heated seat element circuit, it will notify the vehicle operator or the repair technician of this condition by flashing the High and/or Low indicator lamps in the affected heated seat switch. Refer to Diagnosis and Testing Heated Seat System in Heated Systems for flashing LED diagnosis and testing procedures. Refer to Diagnosis and Testing Heated Seat Module for heated seat module diagnosis and testing procedures. Also refer to the Body Diagnostic for additional diagnosis and testing procedures.