Operation CHARM: Car repair manuals for everyone.
Manuals through 2025 now available!

Our trusted friends have launched a new website named LEMON, which has newer manuals. It also contains all the CHARM manuals.

LEMON is the spiritual successor to CHARM, I recommend you try it!

Link: lemon-manuals.la or lemon-manuals.org.ua

(Some people have issue connecting. LEMON is investigating. For now, use Firefox or change your DNS server)

Or, hide this message: temporarily or permanently

Removal






REMOVAL

WARNING: To avoid serious or fatal injury on vehicles equipped with airbags, disable the supplemental restraint system before attempting any steering wheel, steering column, airbag, seat belt tensioner, impact sensor, or instrument panel component diagnosis or service. Disconnect and isolate the battery negative (ground) cable, then wait two minutes for the system capacitor to discharge before performing further diagnosis or service. This is the only sure way to disable the supplemental restraint system. Failure to take the proper precautions could result in accidental airbag deployment.

NOTE: The shaft lock module cannot be removed from the steering column while the locking bolt is in the locked position without irreversibly damaging the column. Before attempting service, insert a valid ignition key into the ignition lock cylinder, then rotate the steering wheel from side to side. If the steering wheel can be rotated, the locking bolt is in the unlocked position. Leave the key in the ignition lock cylinder until service has been completed. If the steering wheel cannot be rotated, test and repair the wiring circuits between the module and the ignition switch as required. If no problem is found in these circuits, the module has failed with the locking bolt in the locked position and both the module and the steering column must be replaced with new units.





1. Insert a valid ignition key into the ignition lock cylinder to move the shaft lock module locking bolt to the unlocked position. Leave the key in the lock cylinder while the shaft lock module service is being completed.

2. Disconnect and isolate the battery negative cable.

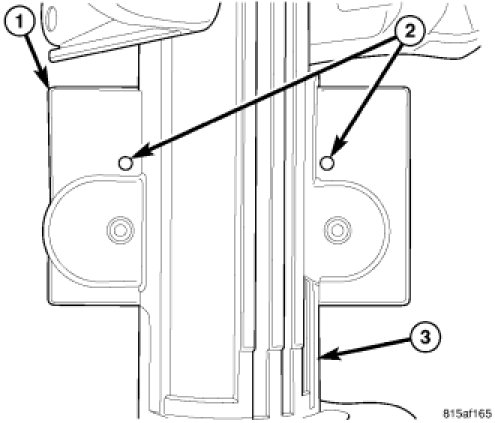
3. Remove the steering column (3) from the vehicle.

4. Depress the two spring clips that secure the shaft lock module to the mounting bracket (1) on the steering column by inserting a suitable drift or punch into the release holes (2) on the upper surface of the bracket opposite the module.

5. While holding the spring clips depressed, slide the module toward the base of the column far enough to disengage the engagement tabs and slide tabs on the module from the slots and channels in the bracket.

6. Remove the module from the steering column.