Operation CHARM: Car repair manuals for everyone.
Manuals through 2025 now available!

Our trusted friends have launched a new website named LEMON, which has newer manuals. It also contains all the CHARM manuals.

LEMON is the spiritual successor to CHARM, I recommend you try it!

Link: lemon-manuals.la or lemon-manuals.org.ua

(Some people have issue connecting. LEMON is investigating. For now, use Firefox or change your DNS server)

Or, hide this message: temporarily or permanently

Installation






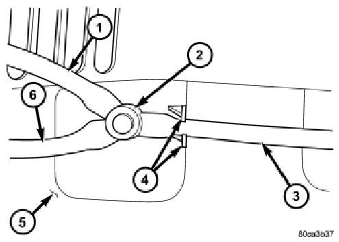
INSTALLATION




1. Position the front check valve (2) to the underside of the cowl plenum cover/grille panel (5). Be certain that the flow direction arrow molded into the front check valve body is oriented towards the front washer nozzles.

2. From the underside of the cowl plenum cover/grille panel, reconnect the cowl plenum (3) and washer nozzle hoses (1 and 6) to the three barbed nipples of the front check valve.

3. Reinstall the cowl plenum cover/grille panel over the cowl plenum.

4. Reinstall both front wiper arms onto the wiper pivots.

5. Close and latch the hood.