Operation CHARM: Car repair manuals for everyone.
Manuals through 2025 now available!

Our trusted friends have launched a new website named LEMON, which has newer manuals. It also contains all the CHARM manuals.

LEMON is the spiritual successor to CHARM, I recommend you try it!

Link: lemon-manuals.la or lemon-manuals.org.ua

(Some people have issue connecting. LEMON is investigating. For now, use Firefox or change your DNS server)

Or, hide this message: temporarily or permanently

Description






DESCRIPTION





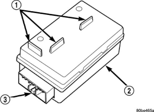
The heated seat module (2) is also known as the Seat Heat Interface Module. The heated seat module (2) is located under the left front seat cushion, where it is secured to a mounting bracket via two push-pin retainers. The heated seat module has a single connector receptacle (3) that allows the module to be connected to all of the required inputs and outputs through the seat wire harness.

The heated seat module (2) is an electronic microprocessor controlled device designed and programmed to use inputs from the heated seat relay, the two heated seat switches and the two heated seat sensors to operate and control the heated seat elements in both front seats and the two heated seat indicator lamp Light-Emitting Diodes (LEDs) in each heated seat switch. The heated seat module is also programmed to perform self-diagnosis of certain heated seat system functions and provide feedback of that diagnosis through the heated seat switch indicator lamps.

The heated seat module (2) cannot be repaired. If the heated seat module is damaged or faulty, the entire module must be replaced.