Operation CHARM: Car repair manuals for everyone.
Manuals through 2025 now available!

Our trusted friends have launched a new website named LEMON, which has newer manuals. It also contains all the CHARM manuals.

LEMON is the spiritual successor to CHARM, I recommend you try it!

Link: lemon-manuals.la or lemon-manuals.org.ua

(Some people have issue connecting. LEMON is investigating. For now, use Firefox or change your DNS server)

Or, hide this message: temporarily or permanently

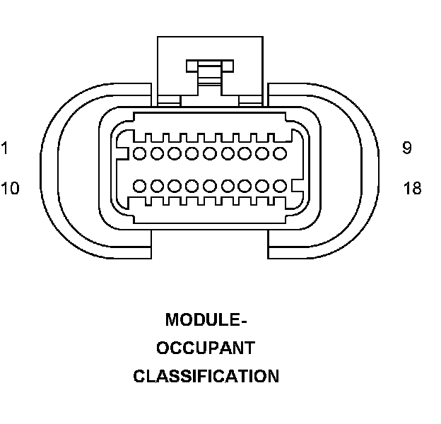
Module-Occupant Classification




Component ID: 178
Component : MODULE-OCCUPANT CLASSIFICATION

Connector:
Name : MODULE-OCCUPANT CLASSIFICATION
Color :
# of pins : 18




Pin Description Circuit
1 - -
2 - -
3 - -
4 SEAT BELT TENSION SENSOR SIGNAL D105 20WT/OR
5 GROUND Z105 18BK/LG
6 PASSENGER BLADDER PRESSURE SENSOR SIGNAL R741 20LG/VT
7 PASSENGER BLADDER PRESSURE SENSOR POWER R740 20LG/OR
8 PCI BUS D25 20WT/VT
9 FUSED IGNITION SWITCH OUTPUT (RUN-START) F201 18LG/YL
10 - -
11 - -
12 - -
13 - -
14 SEAT BELT TENSION SENSOR GROUND R986 20LG/BR
15 PASSENGER BLADDER PRESSURE SENSOR GROUND R941 20LG/DG
16 SEAT BELT TENSION SENSOR POWER R86 20LG/LB
17 - -
18 - -