Operation CHARM: Car repair manuals for everyone.
Manuals through 2025 now available!

Our trusted friends have launched a new website named LEMON, which has newer manuals. It also contains all the CHARM manuals.

LEMON is the spiritual successor to CHARM, I recommend you try it!

Link: lemon-manuals.la or lemon-manuals.org.ua

(Some people have issue connecting. LEMON is investigating. For now, use Firefox or change your DNS server)

Or, hide this message: temporarily or permanently

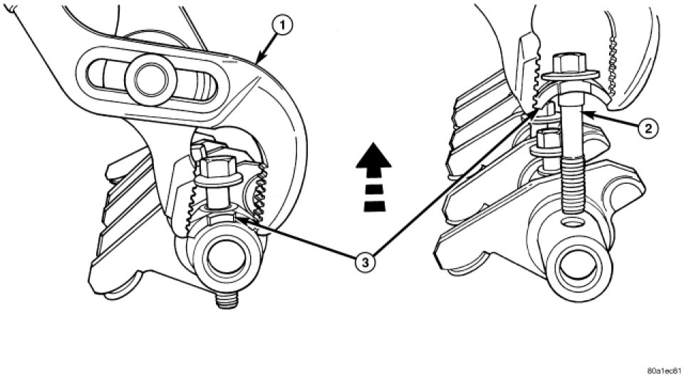
Disassembly






DISASSEMBLY





CAUTION: Do not attempt to drive the billeted bolt from the rocker shaft. This can damage the rocker arm retainer and bolt assembly.

1. Remove the rocker arm retainer and bolt by performing the following procedure:
a. Using adjustable pliers, grip the edges of the retainer.
b. Apply an upward force with a slight rocking motion until the retainer disengages from shaft.




2. Remove rocker arms. Identify the component locations for reassembly in original locations.