Operation CHARM: Car repair manuals for everyone.
Manuals through 2025 now available!

Our trusted friends have launched a new website named LEMON, which has newer manuals. It also contains all the CHARM manuals.

LEMON is the spiritual successor to CHARM, I recommend you try it!

Link: lemon-manuals.la or lemon-manuals.org.ua

(Some people have issue connecting. LEMON is investigating. For now, use Firefox or change your DNS server)

Or, hide this message: temporarily or permanently

Inspection






INSPECTION

MAINSHAFT/SPROCKET/HUB


Inspect the splines on the hub and shaft and the teeth on the sprocket. Minor nicks and scratches can be smoothed with an oilstone, however, replace any part that is damaged.


Check the contact surfaces in the sprocket bore and on the mainshaft. Minor nicks and scratches can be smoothed with 320-400 grit emery cloth but do not try to salvage the shaft if nicks or wear is severe.


INPUT GEAR AND PLANETARY CARRIER





Input Gear and Carrier Components







Check the teeth on the input gear (6). Minor nicks can be dressed off with an oilstone but replace the gear if any teeth are broken, cracked, or chipped. The bearing surface on the gear can be smoothed with 300-400 grit emery cloth if necessary.


Examine the planetary carrier body (1) and pinion gears for wear or damage. The carrier will have to be replaced as an assembly if the body, pinion pins, or pinion gears are damaged.


Check the carrier lock ring (4) and both thrust washers (2, 3) for wear or cracks. Replace them if necessary. Also replace the carrier lock retaining ring (5) if bent, distorted, or broken.


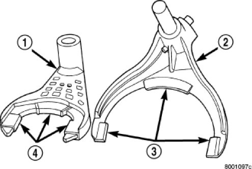
SHIFT FORKS/HUBS/SLEEVES






Check condition of the shift forks and mode fork shift rail (2). Minor nicks on the shift rail can be smoothed with 320-400 grit emery cloth.






Inspect the shift fork wear pads (3, 4). The mode fork pads are serviceable and can be replaced if necessary. The range fork pads are not serviceable. The fork must be replaced as an assembly if the pads are worn or damaged.


Check both of the sleeves for wear or damage, especially on the interior teeth. Replace the sleeves if wear or damage is evident.


REAR RETAINER COMPONENTS


Inspect the retainer components. Replace the bearing if rough or noisy. Check the retainer for cracks or wear in the bearing bore.


Inspect the retaining rings and washers. Replace any part if distorted, bent, or broken. Reuse is not recommended.


Inspect rear extension bushing. Replace if worn or scored.


DRIVE CHAIN


Examine the drive chain and shaft bearings. replace the chain if stretched, distorted, or if any of the links bind. Replace the bearings if rough, or noisy.


LOW RANGE ANNULUS GEAR






Inspect annulus gear (2) condition carefully. The gear is only serviced as part of the front case. If the gear is damaged, it will be necessary to replace the gear and front case as an assembly. Do not attempt to remove the gear.


FRONT CASE AND REAR CASE


Inspect the cases for wear and damage.


Check case condition. If leaks were a problem, look for gouges and severe scoring of case sealing surfaces. Also make sure the front case mounting studs are in good condition.


Check the front case mounting studs and vent tube. The tube can be secured with Loctite(TM) 271 or 680 if loose. The stud threads can be cleaned up with a die if necessary. Also check condition of the fill/drain plug threads in the rear case. The threads can be repaired with a thread chaser or tap if necessary. Or the threads can be repaired with Helicoil(R) stainless steel inserts if required.


OIL PUMP/OIL PICKUP


Examine the oil pump pickup parts. Replace the pump if any part appears to be worn or damaged. Do not disassemble the pump as individual parts are not available. The pump is only available as a complete assembly. The pickup screen, hose, and tube are the only serviceable parts and are available separately.