Operation CHARM: Car repair manuals for everyone.
Manuals through 2025 now available!

Our trusted friends have launched a new website named LEMON, which has newer manuals. It also contains all the CHARM manuals.

LEMON is the spiritual successor to CHARM, I recommend you try it!

Link: lemon-manuals.la or lemon-manuals.org.ua

(Some people have issue connecting. LEMON is investigating. For now, use Firefox or change your DNS server)

Or, hide this message: temporarily or permanently

Fuel Line Coupler: Service and Repair







STANDARD PROCEDURE - QUICK-CONNECT FITTINGS

Different types of quick-connect fittings are used to attach the various fuel system components, lines and tubes. These are: a single-button type, a two-button type, a pinch type, a single-tab type, a two-tab type or a plastic retainer ring type. Some are equipped with safety latch clips. Some may require the use of a special tool for disconnection and removal.

DISCONNECTING

WARNING: The fuel system is under a constant pressure (even with engine off). Before servicing any fuel system hose, fitting or line, fuel system pressure must be released. Refer to fuel system pressure release procedure.

CAUTION: Before separating a quick-connect fitting, pay attention to what type of fitting is being used by referring to Quick-Connect Fitting Removal. This will prevent unnecessary fitting or fitting latch breakage.

CAUTION: The interior components (O-rings, clips) of quick-connect fittings are not serviced separately, but new plastic spacers and latches are available for some types. If service parts are not available, do not attempt to repair the damaged fitting or fuel line (tube). If repair is necessary, replace the complete fuel line (tube) assembly.

1. Perform fuel pressure release procedure.
2. Disconnect negative battery cable from battery.
3. Clean fitting of any foreign material before disassembly.




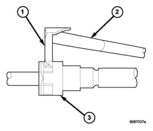
4. Single-Button Type Fitting: This type of fitting is equipped with a single push-button (2) located on the quick-connect fitting.




5. The push-button is attached to two internal latches (1). To disconnect, press on push-button with your thumb and unlatch fitting from fuel line. Special tools are not required for disconnection. DO NOT ATTEMPT TO PRY OR PULL UP ON PUSH-BUTTON. LATCHES WILL BE BROKEN.




6. Perform fuel pressure release procedure.
7. Disconnect negative battery cable from battery.
8. Clean fitting of any foreign material before disassembly.
9. 2-Button Type Fitting: This type of fitting (1) is equipped with a push-button located on each side of quick-connect fitting (2). Press on both buttons simultaneously for removal. Special tools are not required for disconnection.




10. Pinch-Type Fitting: This fitting (1) is equipped with two finger tabs (2). Pinch both tabs together while removing fitting. Special tools are not required for disconnection.




11. Single-Tab Type Fitting: This type of fitting (3) is equipped with a single pull tab (1). The tab is removable. After tab is removed, quick-connect fitting can be separated from fuel system component. Special tools are not required for disconnection.




12. Press release tab on side of fitting to release pull tab (1). If release tab is not pressed prior to releasing pull tab, pull tab will be damaged.
13. While pressing release tab on side of fitting, use screwdriver (2) to pry up pull tab.
14. Raise pull tab until it separates from quick-connect fitting.




15. Two-Tab Type Fitting: This type of fitting (2) is equipped with tabs located on both sides of fitting (1). The tabs are supplied for disconnecting quick-connect fitting from component being serviced.
a. To disconnect quick-connect fitting, squeeze plastic retainer tabs (1) against sides of quick-connect fitting with your fingers. Tool use is not required for removal and may damage plastic retainer.
b. Pull fitting from fuel system component being serviced.
c. The plastic retainer will remain on component being serviced after fitting is disconnected. The O-rings and spacer will remain in quick-connect fitting connector body.




16. Plastic Retainer Ring Type Fitting: This type of fitting can be identified by the use of a full-round plastic retainer ring (4) usually black in color.
a. To release fuel system component from quick-connect fitting, firmly push fitting towards component being serviced while firmly pushing plastic retainer ring into fitting (6). With plastic ring depressed, pull fitting from component. The plastic retainer ring must be pressed squarely into fitting body. If this retainer is cocked during removal, it may be difficult to disconnect fitting. Use an open-end wrench on shoulder of plastic retainer ring to aid in disconnection.
b. After disconnection, plastic retainer ring will remain with quick-connect fitting connector body.
c. Inspect fitting connector body, plastic retainer ring and fuel system component for damage. Replace as necessary.




17. Latch Clips - Type 1: Depending on vehicle model and engine, 2 different types of safety latch clips are used. Type-1 (4) is tethered to fuel line and type-2 is not. A special tool will be necessary to disconnect fuel line after latch clip is removed. The latch clip may be used on certain fuel line/fuel rail connection, or to join fuel lines together.
18. Pry up on latch clip with a screwdriver (3).
19. Slide latch clip toward fuel rail while lifting with screwdriver.




20. Insert special fuel line removal tool (Snap-On number FIH 9055-1 or equivalent) into fuel line (1). Use tool to release locking fingers in end of line.
21. With special tool still inserted, pull fuel line from fuel rail.
22. After disconnection, locking fingers will remain within quick-connect fitting at end of fuel line.
23. Disconnect quick-connect fitting from fuel system component being serviced.




24. Latch Clips - Type 2: Depending on vehicle model and engine, 2 different types of safety latch clips are used. Type-1 is tethered to fuel line and type-2 is not. A special tool will be necessary to disconnect fuel line after latch clip is removed. The latch clip may be used on certain fuel line/fuel rail connection, or to join fuel lines together.
25. Type 2: Separate and unlatch small arms on end of clip and swing away from fuel line.
26. Slide latch clip toward fuel rail while lifting with screwdriver.




27. Insert special fuel line removal tool (Snap-On number FIH 9055-1 or equivalent) into fuel line (1). Use tool to release locking fingers in end of line.
28. With special tool still inserted, pull fuel line from fuel rail.
29. After disconnection, locking fingers will remain within quick-connect fitting at end of fuel line.
30. Disconnect quick-connect fitting from fuel system component being serviced.




31. Wing Type: A special tool will not be necessary to disconnect this type of fitting (2). This line is used on different fuel and emission components. The graphic shows the fitting used on an EVAP canister.
32. Use two fingers to push on fitting wings (2)
33. Pull and disconnect fitting while holding wings.
34. After disconnection, locking fingers will remain within quick-connect fitting.

CONNECTING

1. Inspect quick-connect fitting body and fuel system component for damage. Replace as necessary.
2. Prior to connecting quick-connect fitting to component being serviced, check condition of fitting and component. Clean parts with a lint-free cloth. Lubricate with clean engine oil.
3. Insert quick-connect fitting into fuel tube or fuel system component until built-on stop on fuel tube or component rests against back of fitting.
4. Continue pushing until a click is felt.
5. Single-tab type fitting: Push new tab down until it locks into place in quick-connect fitting.
6. Verify a locked condition by firmly pulling on fuel tube and fitting (15-30 lbs.).
7. Latch Clip Equipped: Install latch clip (snaps into position). If latch clip will not fit, this indicates fuel line is not properly installed to fuel rail (or other fuel line). Recheck fuel line connection.
8. Connect negative cable to battery.
9. Start engine and check for leaks.