Operation CHARM: Car repair manuals for everyone.
Manuals through 2025 now available!

Our trusted friends have launched a new website named LEMON, which has newer manuals. It also contains all the CHARM manuals.

LEMON is the spiritual successor to CHARM, I recommend you try it!

Link: lemon-manuals.la or lemon-manuals.org.ua

(Some people have issue connecting. LEMON is investigating. For now, use Firefox or change your DNS server)

Or, hide this message: temporarily or permanently

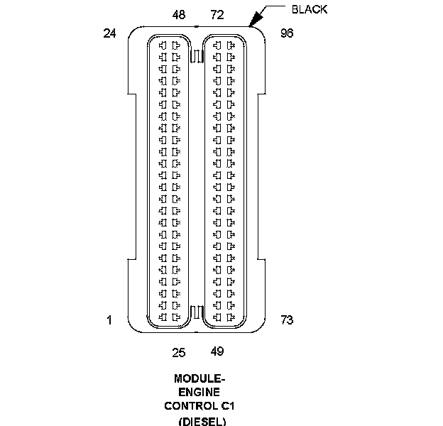
Engine Control Module




Component ID: 206
Component : MODULE-ENGINE CONTROL

Connector:
Name : MODULE-ENGINE CONTROL C1
Color : BLACK
# of pins : 96
Qualifier : (DIESEL)




Pin Circuit Description
1 K11 16BL FUEL INJECTOR NO. 1 HIGH-SIDE CONTROL
2 K12 16BL/VT FUEL INJECTOR NO. 2 HIGH-SIDE CONTROL
3 K13 16BL/RD FUEL INJECTOR NO. 3 HIGH-SIDE CONTROL
4 - -
5 - -
6 K902 20GY/WT O2 1/1 PUMP CELL CURRENT TRIM
7 K844 20RD/VT CAMSHAFT POSITION SENSOR 5 VOLT SUPPLY
8 K900 20BR/RD SENSOR GROUND
9 K934 20OR EXHAUST GAS PRESSURE SENSOR GROUND
10 K944 20BR/DG CAMSHAFT POSITION SENSOR GROUND
11 K312 18GY/OR EGR AIRFLOW CONTROL VALVE POSITION SENSOR SIGNAL
12 N116 18BR/VT CRANKCASE VENT HEATER CONTROL
13 - -
14 - -
15 K853 20RD/VT CRANKSHAFT POSITION SENSOR 5 VOLT SUPPLY
16 - -
17 - -
18 F858 20GY/YL EXHAUST GAS PRESSURE SENSOR 5 VOLT SUPPLY
19 K356 20RD/BK BOOST PRESSURE SENSOR 5 VOLT SUPPLY
20 N117 20GY INTAKE SWIRL SERVO MOTOR CONTROL
21 - -
22 X635 20GY/DG BOOST PRESSURE SERVO MOTOR CONTROL
23 K369 18RD/GY FUEL PRESSURE SOLENOID 12 VOLT SUPPLY
24 K315 18GY/PK EGR AIRFLOW CONTROL VALVE MOTOR (-)
25 K14 16BL/YL FUEL INJECTOR NO. 4 HIGH-SIDE CONTROL
26 K38 16BL/DG FUEL INJECTOR NO. 5 HIGH-SIDE CONTROL
27 K58 16BL/WT FUEL INJECTOR NO. 6 HIGH-SIDE CONTROL
28 K960 18BR/VT INTAKE AIR TEMPERATURE SENSOR GROUND
29 - -
30 - -
31 K41 20DG/BK O2 1/1 REFERENCE SIGNAL
32 - -
33 K44 20YL/GY CAMSHAFT POSITION SENSOR SIGNAL
34 - -
35 G123 18PK/RD WATER IN FUEL SENSOR SIGNAL
36 K923 18GY/DG WATER IN FUEL SENSOR GROUND
37 K957 18BR MASS AIR FLOW SENSOR GROUND
38 - -
39 G224 20YL/GY OIL TEMPERATURE SENSOR SIGNAL
40 F851 20DG OIL PRESSURE SENSOR 5 VOLT SUPPLY
41 K313 18DG/GY EGR AIRFLOW CONTROL VALVE SUPPLY
42 K668 20BR/BK INLET AIR PRESSURE SENSOR 5 VOLT SUPPLY
43 K350 20RD/WT FUEL PRESSURE SENSOR 5 VOLT SUPPLY
44 - -
45 - -
46 - -
47 K366 18BK/BL FUEL QUANTITY SOLENOID 12 VOLT SUPPLY
48 K99 16GY/BR O2 1/1 HEATER CONTROL
49 K638 16BK/DG FUEL INJECTOR NO. 5 LOW-SIDE CONTROL
50 K611 16BK/BL FUEL INJECTOR NO. 1 LOW-SIDE CONTROL
51 K658 16BK/WT FUEL INJECTOR NO. 6 LOW-SIDE CONTROL
52 K222 18BR/RD ENGINE COOLANT TEMPERATURE SENSOR GROUND
53 Z753 16BR/BK CRANKSHAFT POSITION SENSOR SIGNAL NO. 2
54 - -
55 - -
56 K914 20BL/DG FUEL TEMPERATURE SENSOR GROUND
57 Z43 20DG/BL O2 1/1 NEGATIVE CURRENT CONTROL
58 - -
59 - -
60 K2 20DG/RD ENGINE COOLANT TEMPERATURE SENSOR SIGNAL
61 K156 20BL/RD FUEL TEMPERATURE SENSOR SIGNAL
62 K916 20BR/WT PRE-CATALYST EXHAUST GAS TEMPERATURE GROUND
63 K915 20BR/WT POST-CATALYST EXHAUST GAS TEMPERATURE GROUND
64 K359 20GY/BR FUEL PRESSURE SENSOR GROUND
65 K181 20DG/VT FUEL PRESSURE SENSOR SIGNAL
66 K157 20BL/YL MASS AIR FLOW SENSOR SIGNAL
67 K390 20DG/PK EGR AIRFLOW CONTROL VALVE RETURN
68 - -
69 - -
70 - -
71 K34 20GY/YL EGR SOLENOID CONTROL
72 K314 18GY/RD EGR AIRFLOW CONTROL VALVE MOTOR (+)
73 K612 16BK/VT FUEL INJECTOR NO. 2 LOW-SIDE CONTROL
74 K613 16BK/RD FUEL INJECTOR NO. 3 LOW-SIDE CONTROL
75 K614 16BK/YL FUEL INJECTOR NO. 4 LOW-SIDE CONTROL
76 Z36 18YL/DG OIL TEMPERATURE SENSOR GROUND
77 K24 16DG/WT CRANKSHAFT POSITION SENSOR SIGNAL NO. 1
78 K936 20GY/PK OIL PRESSURE SENSOR GROUND
79 - -
80 K43 20GY/RD O2 1/1 POSITIVE CURRENT CONTROL
81 K35 20GY/BK EXHAUST GAS PRESSURE SENSOR SIGNAL
82 K37 20GY/YL BOOST PRESSURE SENSOR SIGNAL
83 K352 20YL PRE-CATALYST EXHAUST GAS TEMPERATURE SIGNAL
84 K21 20DG/WT INTAKE AIR TEMPERATURE SENSOR SIGNAL
85 K68 20RD/BL INLET AIR PRESSURE SENSOR SIGNAL
86 - -
87 K656 20BR/GY BOOST PRESSURE SENSOR GROUND
88 D509 20WT/BL LIN BUS
89 K353 20YL/WT POST-CATALYST EXHAUST GAS TEMPERATURE SIGNAL
90 K362 20DG/YL MASS AIR FLOW TEMPERATURE SENSOR SIGNAL
91 - -
92 - -
93 K370 18BK/WT FUEL PRESSURE SOLENOID CONTROL
94 K365 18YL/BK FUEL QUANTITY SOLENOID CONTROL
95 - -
96 - -



Connector:
Name : MODULE-ENGINE CONTROL C2
Color :
# of pins : 58
Qualifier : (DIESEL)




Pin Circuit Description
1 K542 14BR FUSED ASD RELAY OUTPUT
2 Z816 14BK GROUND
3 A15 14RD/TN FUSED ASD RELAY OUTPUT
4 Z130 14BK/BR GROUND
5 F42 14DG/LG FUSED ASD RELAY OUTPUT
6 Z130 14BK/BR GROUND
7 K167 18BR/YL APPS NO. 1 SENSOR GROUND
8 - -
9 - -
10 - -
11 K355 20BR/DG EXHAUST DIFFERENTIAL PRESSURE SENSOR SIGNAL
12 K29 20WT/BR APPS NO. 2 SIGNAL
13 - -
14 G6 20VT/GY OIL PRESSURE SENSOR SIGNAL
15 F855 20PK/YL 5 VOLT SUPPLY
16 K354 20BR/LG EXHAUST DIFFERENTIAL PRESSURE SENSOR 5 VOLT SUPPLY
17 F856 20YL/PK 5 VOLT SUPPLY
18 - -
19 - -
20 - -
21 - -
22 V71 20VT/OR S/C SWITCH SENSE 1
23 - -
24 K23 20BR/WT APPS NO. 1 SIGNAL
25 - -
26 V72 20OR/VT S/C SWITCH SENSE 2
27 - -
28 V937 20VT/BR S/C SWITCH RETURN
29 - -
30 K951 20BK/DB EXHAUST DIFFERENTIAL PRESSURE SENSOR GROUND
31 - -
32 K31 20BR FUEL PUMP RELAY CONTROL
33 - -
34 - -
35 B15 20DG/WT BRAKE SWITCH NO. 1 SIGNAL
36 B16 20LB/DG BRAKE SWITCH NO. 2 SIGNAL
37 - -
38 - -
39 - -
40 K400 20BR/VT APPS NO. 2 SENSOR GROUND
41 F942 20PK/LG FUSED IGNITION SWITCH OUTPUT (RUN-START)
42 K343 20BR/YL FUSED ASD RELAY OUTPUT
43 - -
44 T752 20DG/OR ENGINE STARTER MOTOR RELAY CONTROL
45 - -
46 - -
47 - -
48 F26 20PK/OR IGNITION SWITCH OUTPUT (START)
49 - -
50 - -
51 D65 20WT/LG CAN C BUS (+)
52 D64 20WT/LB CAN C BUS (-)
53 - -
54 C13 20LB/OR A/C CLUTCH RELAY CONTROL
55 K363 20OR/BR PTC NO. 3 RELAY CONTROL
56 - -
57 - -
58 - -