Operation CHARM: Car repair manuals for everyone.
Manuals through 2025 now available!

Our trusted friends have launched a new website named LEMON, which has newer manuals. It also contains all the CHARM manuals.

LEMON is the spiritual successor to CHARM, I recommend you try it!

Link: lemon-manuals.la or lemon-manuals.org.ua

(Some people have issue connecting. LEMON is investigating. For now, use Firefox or change your DNS server)

Or, hide this message: temporarily or permanently

Connecting Rod Bearing: Service and Repair






CONNECTING ROD BEARING FITTING

Special Tools:










Inspect the connecting rod bearings for scoring. Check the bearings for normal wear patterns, scoring, grooving, fatigue and pitting. Replace any bearing that shows abnormal wear.

Inspect the connecting rod journals for signs of scoring, nicks and burrs.

Misaligned or bent connecting rods can cause abnormal wear on pistons, piston rings, cylinder walls, connecting rod bearings and crankshaft connecting rod journals. If wear patterns or damage to any of these components indicate the probability of a misaligned connecting rod, inspect it for correct rod alignment. Replace misaligned, bent or twisted connecting rods.





1. Wipe the oil from the connecting rod journal.
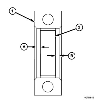
2. Lubricate the upper bearing insert and position in connecting rod. Center bearing insert (2) in connecting rod (1)





3. Use piston ring compressor (3) and Connecting Rod Guides to install the rod and piston assemblies. The oil slinger slots in the rods must face front of the engine. The "F"'s near the piston wrist pin bore (1) should point to the front of the engine.





4. Install the lower bearing insert in the bearing cap. Center bearing insert in connecting rod.. The lower insert must be dry. Place strip of Plastigage across full width of the lower insert at the center of bearing cap. Plastigage must not crumble in use. If brittle, obtain fresh stock.
5. Install bearing cap and connecting rod on the journal and tighten bolts to 27 Nm (20 ft. lbs.) plus a 90° turn. DO NOT rotate crankshaft. Plastigage will smear, resulting in inaccurate indication.
6. Remove the bearing cap and determine amount of bearing-to-journal clearance by measuring the width of compressed Plastigage (2). Refer to Engine Specifications for the proper clearance. Plastigage should indicate the same clearance across the entire width of the insert. If the clearance varies, it may be caused by either a tapered journal, bent connecting rod or foreign material trapped between the insert and cap or rod.
7. If the correct clearance is indicated, replacement of the bearing inserts is not necessary. Remove the Plastigage from crankshaft journal and bearing insert. Proceed with installation.






8. If bearing-to-journal clearance exceeds the specification, determine which services bearing set to use the bearing sizes are as follows:

CAUTION: Connecting Rod Bolts are Torque to Yield Bolts and Must Not Be Reused. Always replace the Rod Bolts whenever they are loosened or removed.

9. Repeat the Plastigage measurement to verify your bearing selection prior to final assembly.
10. Once you have selected the proper insert, install the insert and cap. Tighten the connecting rod bolts to 27 Nm (20 ft. lbs.) plus a 90° turn.





Slide snug-fitting feeler gauge between the connecting rod and crankshaft journal flange. Refer to Engine Specifications for the proper clearance. Replace the connecting rod if the side clearance is not within specification.