Operation CHARM: Car repair manuals for everyone.
Manuals through 2025 now available!

Our trusted friends have launched a new website named LEMON, which has newer manuals. It also contains all the CHARM manuals.

LEMON is the spiritual successor to CHARM, I recommend you try it!

Link: lemon-manuals.la or lemon-manuals.org.ua

(Some people have issue connecting. LEMON is investigating. For now, use Firefox or change your DNS server)

Or, hide this message: temporarily or permanently

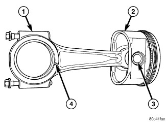
Connecting Rod: Description and Operation






DESCRIPTION










CAUTION: Do not use a metal stamp to mark connecting rods as damage may result, instead use ink or a scratch awl.

The pistons (Figure 1)(2) are made of a high strength aluminum alloy. The connecting rods (1) are made of forged powdered metal, with a "fractured cap" design. A full floating piston pin is used to attach the piston to the connecting rod.