Operation CHARM: Car repair manuals for everyone.
Manuals through 2025 now available!

Our trusted friends have launched a new website named LEMON, which has newer manuals. It also contains all the CHARM manuals.

LEMON is the spiritual successor to CHARM, I recommend you try it!

Link: lemon-manuals.la or lemon-manuals.org.ua

(Some people have issue connecting. LEMON is investigating. For now, use Firefox or change your DNS server)

Or, hide this message: temporarily or permanently

Air Flow Meter/Sensor: Testing and Inspection

AIR FLOW SENSOR (AFS): MASS AIR FLOW (MAF) SENSOR & INTAKE AIR TEMPERATURE SENSOR (ATS)




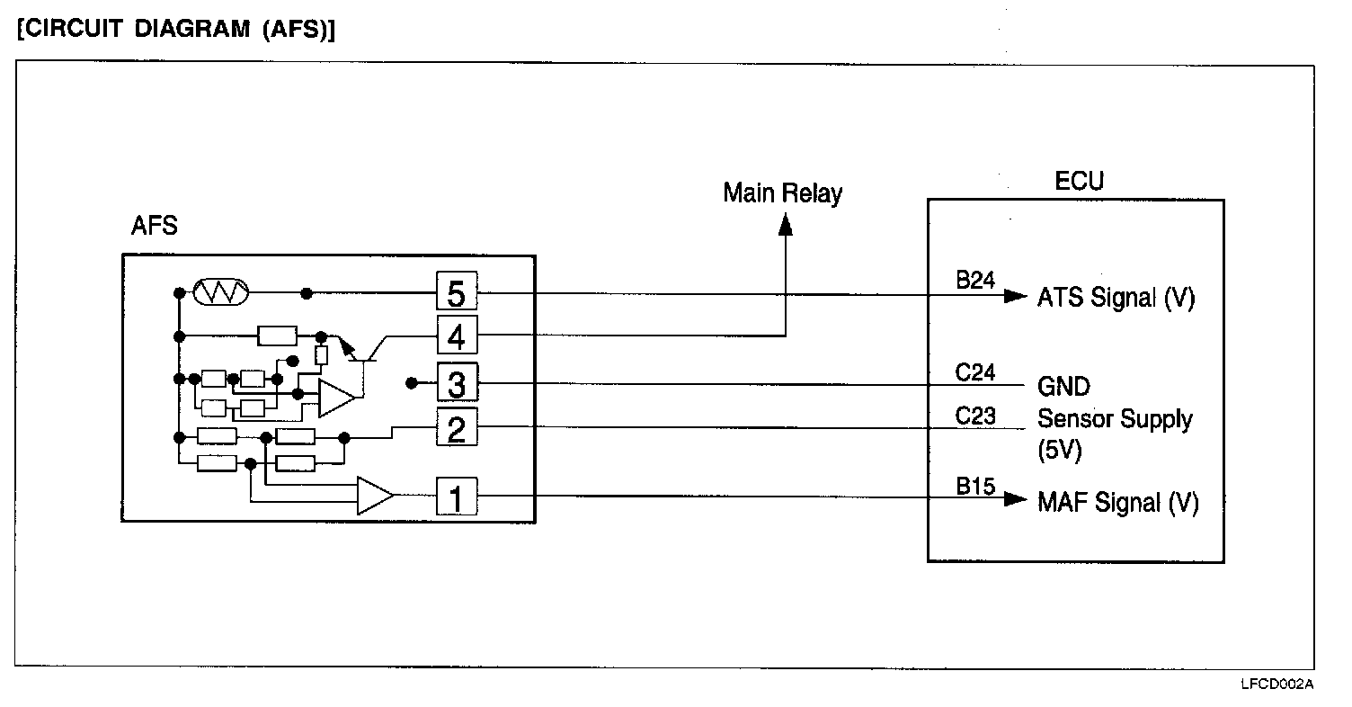
This hot film type Air Flow Sensor (AFS) is composed of a hot film sensor, housing and metering duct (hybrid sensor element). Mass air flow rate is measured because the change of the mass air flow rate causes a change in the amount of heat being transferred from the hot film probe surface to the air flow The air flow sensor generates a pulse so it repeatedly opens and closes between the 5 V voltage supplied from the ECU.

The intake air temperature sensor (ATS), located in the intake air hose, is a resistor-based sensor for detecting the intake air temperature. The intake air temperature information from the sensor helps the ECU provide the necessary fuel injection.

Circuit Diagram (AFS):






Harness Connector:






Characteristic Of MAF:






Output Voltage Of MAF:






Troubleshooting Procedures (MAF):






TROUBLESHOOTING HINTS
1. If the engine stalls occasionally, start the engine and shake the MAF sensor harness. If the engine stalls, check for poor contact at the MAF sensor connector.
2. If the MAF sensor output voltage is other than 0 when the ignition switch is turned on (do not start the engine), check for a faulty MAF sensor or ECU.
3. If the engine can idle even if the MAF sensor output voltage is out of specification, check for the following conditions;
- Disturbed air flow in the MAF sensor, disconnected air duct, and clogged air cleaner filter.
- Poor combustion in the cylinder, faulty ignition plug, ignition coil, injector, and incorrect comparison.

4. Even if no MAF malfunction occurs, check the mounting direction of the MAF

CAUTION:
- When the vehicle is new (within initial operation of about 500 km (300 miles), the Mass Air Flow (MAF) Sensor air quantity will be about 10% higher.
- Use an accurate digital voltmeter.
- Before checking, warm up the engine until the engine coolant temperature reaches 80 to 90 °C (176 to 198 °F).

Harness Inspection Procedures (MAF):






Output Voltage Of ATS:






Using Ohmmeter:






Troubleshooting Procedure (ATS):






TROUBLESHOOTING HINTS
The MIL is turned ON and DTC (Diagnostic Trouble Code) displayed on Hi-scan under the conditions.
1. The manifold pressure indicates 118 mb or less for 0.1 second when the ignition key is turned on.
2. The manifold pressure indicates 118 mb or less when the rate is 1980 rpm or less.
3. The rate is 2400 rpm or above when the manifold pressure indicates 1986 mb or above, or the accelerator pedal is released (on decceleration)


Harness Inspection Procedure (ATS):