Operation CHARM: Car repair manuals for everyone.
Manuals through 2025 now available!

Our trusted friends have launched a new website named LEMON, which has newer manuals. It also contains all the CHARM manuals.

LEMON is the spiritual successor to CHARM, I recommend you try it!

Link: lemon-manuals.la or lemon-manuals.org.ua

(Some people have issue connecting. LEMON is investigating. For now, use Firefox or change your DNS server)

Or, hide this message: temporarily or permanently

Sensor Inspection

FUEL LEVEL SENSOR (FLS)




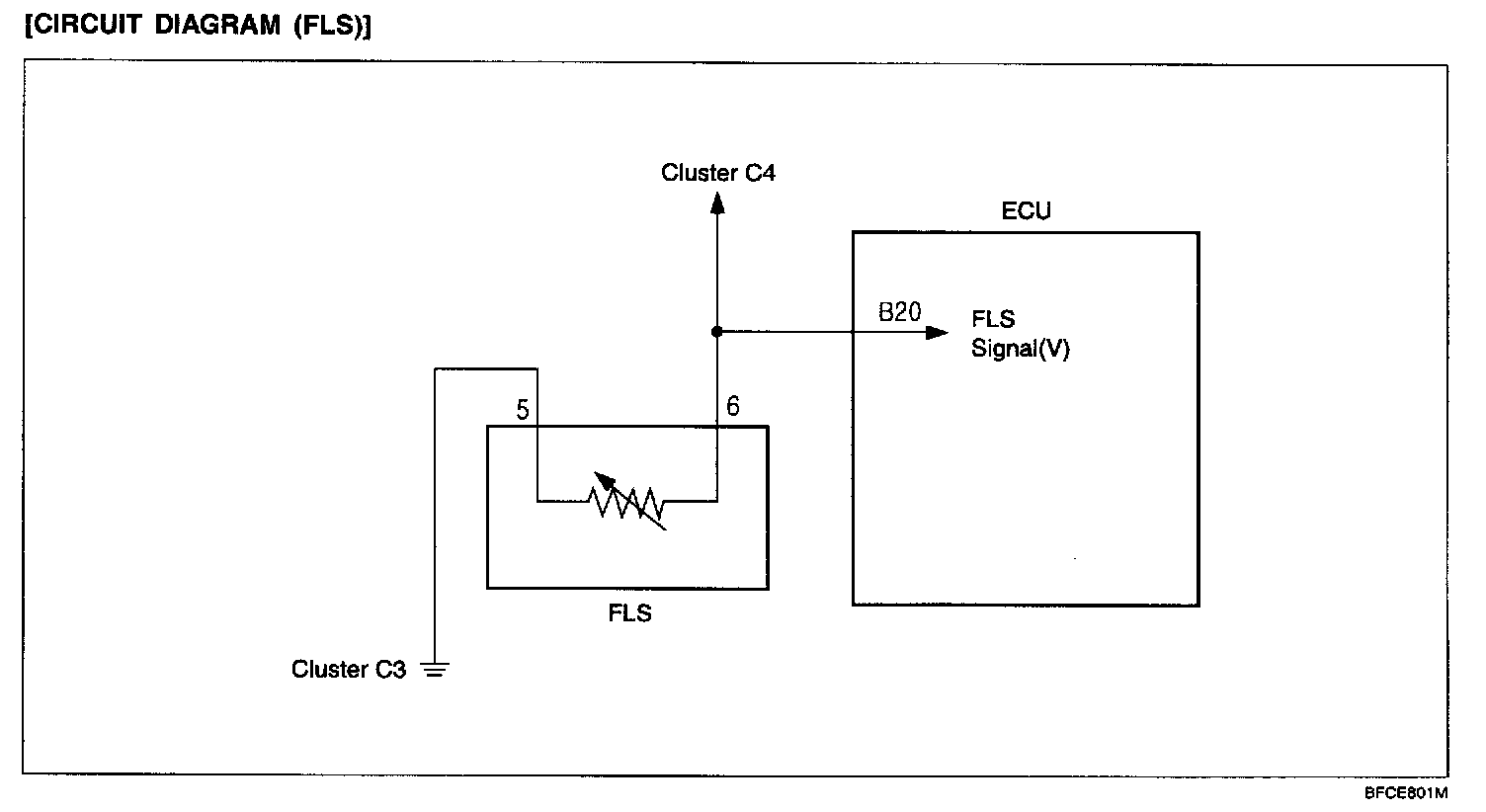
Fuel Level Sensor (FLS) is involved in Fuel Pump Assembly. It sensors the remained fuel volume and transfers the signal to ECU and Cluster by using a variable resistor.

Circuit Diagram (FLS):






Harness Connector:






[SENSOR INSPECTION (FLS)]




1. Remove Fuel Pump Assembly from Fuel Tank.
2. Measure the resistance from "FULL" to "EMPTY"

Sensor Characteristic:




3. Replace or repair the Fuel Level Sensor if the measured resistance is out of range (Refer to Table SENSOR CHARACTERISTIC").


Harness Inspection Procedures (FLS) Part 1:




Harness Inspection Procedures (FLS) Part 2: