Operation CHARM: Car repair manuals for everyone.
Manuals through 2025 now available!

Our trusted friends have launched a new website named LEMON, which has newer manuals. It also contains all the CHARM manuals.

LEMON is the spiritual successor to CHARM, I recommend you try it!

Link: lemon-manuals.la or lemon-manuals.org.ua

(Some people have issue connecting. LEMON is investigating. For now, use Firefox or change your DNS server)

Or, hide this message: temporarily or permanently

Lower Control Arm

LOWER ARM





COMPONENTS

REMOVAL
1. Remove the wheel and tire.
2. Loosen the ball joint nut, but do not remove it.





3. Using the special tools (09455-21000), disconnect the lower arm ball joint from the lower arm connector.





4. Remove the ball joint assembly.





5. Remove the fork to lower arm connector mounting bolt.





6. Remove the stabilizer link from the lower arm.





7. Remove the lower arm bush(A) mounting bolts(2EA) and the stabilizer link mounting nut (1 EA).





8. Remove the lower arm bush(G) mounting bolt.

DISASSEMBLY





1. Remove the lower arm connector from the lower arm.





2. Using the special tools (09551 -31000, 09545-21100), remove the shock absorber mounting bushing.





3. Using the special tools (09624-34000), remove the lower arm bushing(G).

INSPECTION
1. Check the bushing for wear and deterioration.
2. Check the lower arm for bending or breakage.
3. Check the ball joint dust cover for cracks.
4. Check all bolts.





5. Check the lower arm ball joint for rotating torque.
1) If a crack is noted in the dust cover, replace the ball joint assembly.
2) Shake the ball joint stud several times.
3) Measure the ball joint rotating torque.
Standard value: 0.2 - 1.0 Nm (2 - 10 kg-cm, 1.7 - 8.7 inch lbs.)

NOTE: Measure at the range of 0.5 - 2 rpm after vibrating 3° at room temperature after approximately 24 hours from assembly.

4) If the rotating torque is below the lower limit of standard value, replace the ball joint assembly.
5) Even if the rotating torque exceeds the upper limit of standard value, it may be reused unless it is 1.5 Nm (15 kg-cm, 1.1 ft. lbs.) or more.





6. Check the stabilizer link ball joint rotating torque.
1) If there is a crack in the dust cover, replace it and add grease.
2) Shake the stabilizer link ball joint stud several times.
3) Mount the self-locking nut on the ball joint, and then measure the ball joint rotating torque.
Standard value: 0.7 - 2 Nm (7 - 20 kg-cm, 6.1 - 17.4 inch lbs.)

NOTE: Measure at the range of 0.5 - 2rpm after vibrating 3° at room temperature after approximately 24 hours from assembly.

4) If the rotating torque exceeds the upper limit of standard value, replace the stabilizer link.
5) Even if the rotating torque is below the lower limit of the standard value, the ball joint may be reused unless it has drag and excessive play.

REASSEMBLY





1. Using the special tools(09551-31000, 09545-21100) press-fit the shock absorber mounting bushing.
Pull out force for the bushing: 7,845 N (800 kg(f), 1,764 ft. lbs.) or more





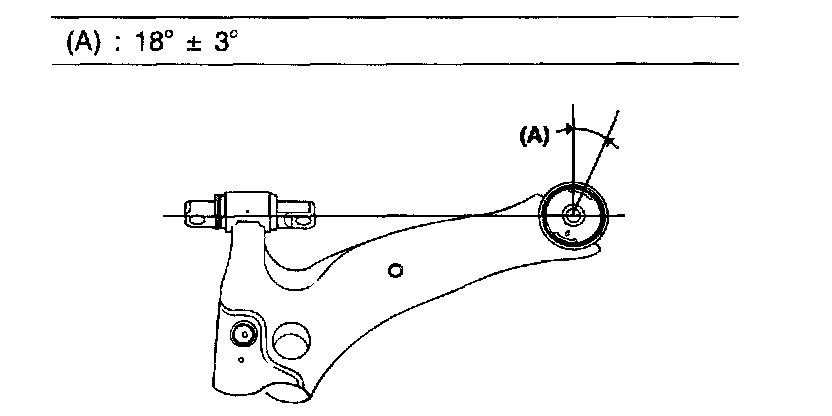
2. Align the lower arm bushing(G) as the angle indicated in the illustration.
(A): 18° ± 3°





3. Using the special tools (09624-34000), press-fit the lower arm bushing(G).
Pull out force for the bushing: 7,845 N (800 kg(f), 1,764ft. lbs.) or more





4. Install the connector in the lower arm assembly.

INSTALLATION





1. Install the stabilizer link so that the distance(A) is at the standard value.
Standard value (A): 3 - 5 mm (0.118 - 0.197 inch)
2. Installation is the reverse of removal.