Operation CHARM: Car repair manuals for everyone.
Manuals through 2025 now available!

Our trusted friends have launched a new website named LEMON, which has newer manuals. It also contains all the CHARM manuals.

LEMON is the spiritual successor to CHARM, I recommend you try it!

Link: lemon-manuals.la or lemon-manuals.org.ua

(Some people have issue connecting. LEMON is investigating. For now, use Firefox or change your DNS server)

Or, hide this message: temporarily or permanently

Crankshaft Main Bearing

Crankshaft main bearing
Main bearing oil clearance
Specifications 0.004 - 0.022 mm (0.0002 - 0.0009 in.)

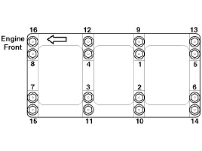
Main Bearing Caps
Install and uniformly tighten the bearing cap bolts, in two steps, in the sequence shown.





Tightening torque
M8 15.7 ± 2.9 Nm (1.6 ± 0.3 kgf.m, 11.6 ± 2.2 lb-ft) + 90° + 5°
M10 29.4 ± 2.9 Nm (3.0 ± 0.3 kgf.m, 21.7 ± 2.2 lb-ft) + 90° + 5°