Operation CHARM: Car repair manuals for everyone.
Manuals through 2025 now available!

Our trusted friends have launched a new website named LEMON, which has newer manuals. It also contains all the CHARM manuals.

LEMON is the spiritual successor to CHARM, I recommend you try it!

Link: lemon-manuals.la or lemon-manuals.org.ua

(Some people have issue connecting. LEMON is investigating. For now, use Firefox or change your DNS server)

Or, hide this message: temporarily or permanently

Instrument Panel, Gauges and Warning Indicators: Testing and Inspection

INSTRUMENT CLUSTER

INSPECTION

SPEEDOMETER
1. Adjust the pressure of the tires to the specified level.




2. Drive the vehicle onto a speedometer tester. Use wheel chocks (A) as appropriate.







3. Check if the speedometer indicator range is within the standard values.

CAUTION: Do not operate the clutch suddenly or increase/ decrease speed rapidly while testing.

NOTE: Tire wear and tire over or under inflation will increase the indication error.

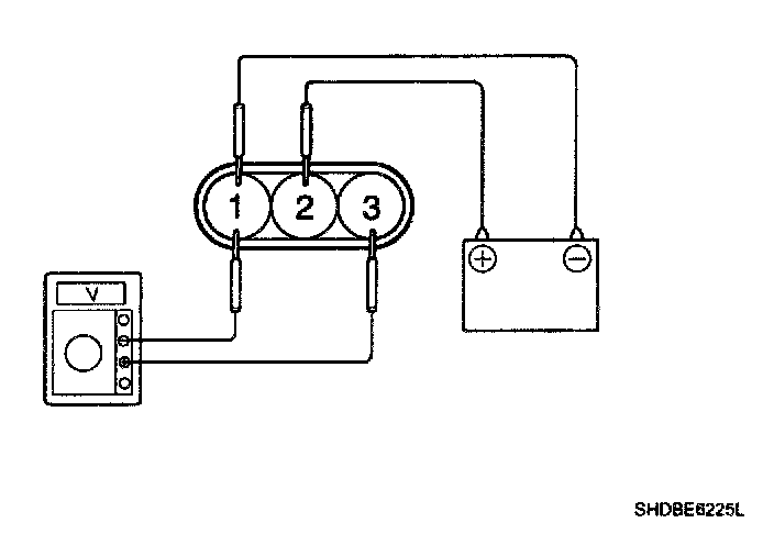
VEHICLE SPEED SENSOR
1. Connect the positive (+) lead from battery to terminal 2 and negative (-) lead to terminal 1.
2. Connect the positive (+) lead from tester to terminal 3 and the negative (-) lead to terminal 1.
3. Rotate the shaft.
4. Check that there is voltage change from approx. 0 V to 11 V or more between terminals 3 and 1.




5. The voltage change should be 4 times for every revolution of the speed sensor shaft.
If operation is not as specified, replace the sensor.

TACHOMETER
1. Connect the scan tool to the diagnostic link connector or install a tachometer.




2. With the engine started, compare the readings of the tester with that of the tachometer. Replace the tachometer if the tolerance is exceeded.

CAUTION:
a. Reversing the connections of the tachometer will damage the transistor and diodes inside.
b. When removing or installing the tachometer, be careful not to drop it or subject it to severe shock.

FUEL GAUGE
1. Disconnect the fuel sender connector from the fuel sender.
2. Connect a 3.4 wattages, 12 V test bulb to terminals 1 and 2 on the wire harness side connector.




3. Turn the ignition switch to the ON, and then check that the bulb lights up and the fuel gauge needle moves to full.

FUEL GAUGE SENDER




1. Using an ohmmeter, measure the resistance between terminals 1 and 3 of sender connector (A) at each float level.




2. Also check that the resistance changes smoothly when the float is moved from "E" to "F".
3. If the height resistance is unsatisfied, replace the fuel sender as an assembly.

CAUTION: After completing this test, wipe the sender dry and reinstall it in the fuel tank.

ENGINE COOLANT TEMPERATURE GAUGE
1. Disconnect the wiring connector (A) from the engine coolant temperature sender in the engine compartment.
2. Connect a 12 V, 3.4 wattages test bulb between the harness side connector 2 terminal and ground.
3. Turn the ignition switch ON.




4. Verify that the test bulb flashes and that the indicator moves to HOT position.
If operation is not as specified, replace the cluster (Engine coolant temperature gauge). Then recheck the system.

ENGINE COOLANT TEMPERATURE SENDER




1. Using an ohmmeter, measure the resistance between the terminal 2 and ground.




2. If the resistance value is not as shown in the table, replace the temperature sender.

OIL PRESSURE SWITCH
1. Check that there is continuity between the oil pressure switch terminal and ground with the engine off.
2. Check that there is no continuity between the terminal and ground with the engine running.




3. If operation is not as specified, replace the switch.

OIL PRESSURE WARNING LAMP
1. Check that there is continuity between the oil pressure switch terminal and ground with the engine off.
2. Check that there is no continuity between the terminal and ground with the engine running.




3. If operation is not as specified, replace the switch.
4. Connect the oil pressure switch wire harness.




5. Turn the ignition switch ON. Check that the warning lamp lights up.
If the warning lamp doesn't light, test the wire harness.

BRAKE FLUID LEVEL WARNING SWITCH
1. Remove the connector (A) from the switch located at the brake fluid reservoir.




2. Verify that continuity exists between switch terminals 1 and 2 while pressing the switch (float) down with a rod.

BRAKE FLUID LEVEL WARNING LAMP
1. Ignition "ON".
2. Release the parking brake.
3. Remove the connector from the brake fluid level warning switch.
4. Ground the connector at the harness side.
5. Verify that the warning lamp lights.

PARKING BRAKE SWITCH
The parking brake switch is a pull type. It is located at the side of the parking brake lever.
1. Check that there is continuity between the terminal and switch body with the switch (A) ON.




2. Check that there is no continuity between the terminal and switch body with the switch OFF.
If continuity is not as specified, replace the switch or inspect its ground connection.




DOOR SWITCH
Remove the door switch and check for continuity between the terminals.

SEAT BELT SWITCH
1. Remove the connector from the switch.




2. Check for continuity between terminals.




SEAT BELT WARNING LAMP
With the ignition switch turned ON, verify that the lamp glows.

TRIP SWITCH
1. Disconnect the negative (-) battery terminal.




2. Remove the cluster facia panel (A).




3. Check for continuity between the terminals in each switch position according to the table.