Operation CHARM: Car repair manuals for everyone.
Manuals through 2025 now available!

Our trusted friends have launched a new website named LEMON, which has newer manuals. It also contains all the CHARM manuals.

LEMON is the spiritual successor to CHARM, I recommend you try it!

Link: lemon-manuals.la or lemon-manuals.org.ua

(Some people have issue connecting. LEMON is investigating. For now, use Firefox or change your DNS server)

Or, hide this message: temporarily or permanently

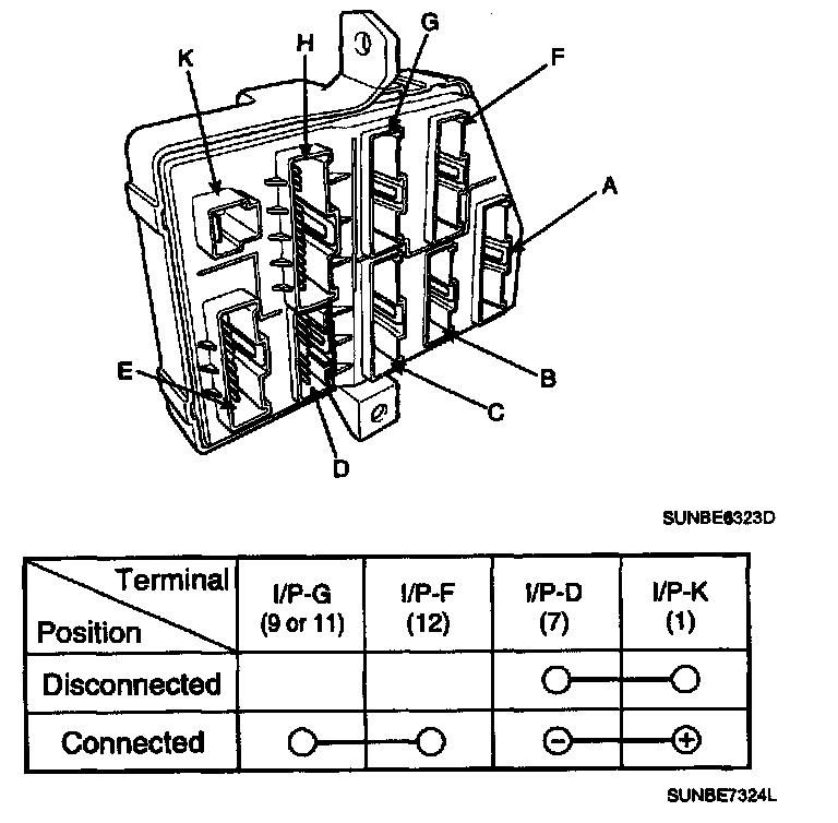
Power Window Relay: Testing and Inspection

POWER WINDOW RELAY

INSPECTION
1. Disconnect the negative (-) battery terminal.
2. Remove the crash pad lower panel.
3. Remove the junction box.
4. Check for continuity between the terminals.
5. There should be continuity between the No.1 in the I/P-K and No.7 terminal in the I/P-D when power and ground are connected to the No.12 terminal in the I/P-F and N0.9 or 11 terminal in the I/P-G.




6. There should be no continuity between the No.12 terminal in the I/P-F and No.9 or 11 terminal in the I/P-G when power is disconnected.