Operation CHARM: Car repair manuals for everyone.
Manuals through 2025 now available!

Our trusted friends have launched a new website named LEMON, which has newer manuals. It also contains all the CHARM manuals.

LEMON is the spiritual successor to CHARM, I recommend you try it!

Link: lemon-manuals.la or lemon-manuals.org.ua

(Some people have issue connecting. LEMON is investigating. For now, use Firefox or change your DNS server)

Or, hide this message: temporarily or permanently

Fuel Filter: Service and Repair




REMOVAL(INCLUDING FUEL FILTER AND FUEL PRESSURE REGULATOR)

1. Preparation
(1) Remove the 2nd seat(s).
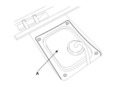
(2) Remove the Service Cover (A).




(3) Disconnect the Fuel Pump Connector (A).




(4) Start the engine and wait until fuel in fuel line is exhausted.
(5) After the engine stalls, turn the ignition switch OFF.
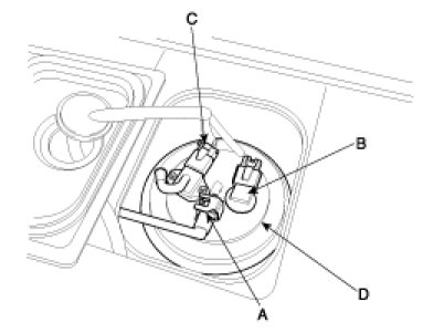
2. After disconnecting the fuel feed quick connector (A), the fuel pump connector (B) and fuel tank pressure sensor connector (C), remove the fuel pump cover (D).




3. After removing the opening nut (A), remove the fuel pump from the fuel tank.










INSTALLATION

1. Install the Fuel Pump assembly according to the reverse order of "REMOVAL" procedure.

Tightening Torque: 78.5 - 98.1 Nm (8.0 - 10.0 kgf-m, 57.9 - 72.4 lbf-ft)