Manuals through 2025 now available!
Our trusted friends have launched a new website named LEMON, which has newer manuals. It also contains all the CHARM manuals.
LEMON is the spiritual successor to CHARM, I recommend you try it!
Link:
lemon-manuals.la or
lemon-manuals.org.ua
(Some people have issue connecting. LEMON is investigating. For now, use Firefox or change your DNS server)
Or, hide this message:
temporarily or
permanently
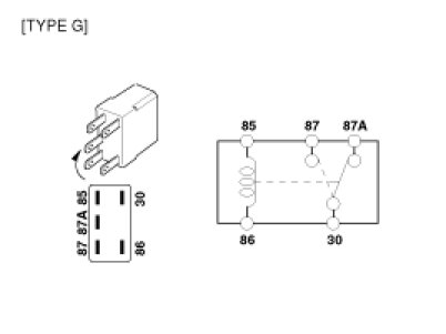
Relay Box (Engine Compartment)
INSPECTIONRELAY 1.
Be sure that the relays are held the each module securely.
2.
Are the relay types for each circuit correct?
3.
If system of some relay is not operate accurately, replace with a new one and check the system.