Operation CHARM: Car repair manuals for everyone.
Manuals through 2025 now available!

Our trusted friends have launched a new website named LEMON, which has newer manuals. It also contains all the CHARM manuals.

LEMON is the spiritual successor to CHARM, I recommend you try it!

Link: lemon-manuals.la or lemon-manuals.org.ua

(Some people have issue connecting. LEMON is investigating. For now, use Firefox or change your DNS server)

Or, hide this message: temporarily or permanently

Repair Procedures










REPLACEMENT

1. Disconnect the negative (-) battery terminal.
2. Remove the crash pad.
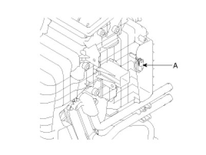
3. Disconnect the evaporator sensor connector (A).




4. Remove the blower unit from the heater unit after loosening a mounting bolt & 3 screws.




5. Remove the evaporator sensor (A) from evaporator core by pulling out.





CAUTION:
Take care that evaporator core pins are not bent.

6. Installation is the reverse order of removal.