Operation CHARM: Car repair manuals for everyone.
Manuals through 2025 now available!

Our trusted friends have launched a new website named LEMON, which has newer manuals. It also contains all the CHARM manuals.

LEMON is the spiritual successor to CHARM, I recommend you try it!

Link: lemon-manuals.la or lemon-manuals.org.ua

(Some people have issue connecting. LEMON is investigating. For now, use Firefox or change your DNS server)

Or, hide this message: temporarily or permanently

Repair Procedures










REPLACEMENT

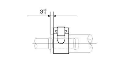
NOTE:
Be sure to connect between a tube and a hose as shown in the illustration.





Pressure hose and tube
1. Drain the power steering fluid by disconnecting the return hose(A).




2. Remove the pressure pipe(B) from the power steering oil pump(A).




3. Remove the pressure tube(A) from the valve body housing.




4. Remove the two brackets of the pressure tube and hose from the front subframe.




5. Installation is reverse of the removal.

Tightening torque Nm (kgf-m, lb-ft) :
Pressure tube to gear box ; 12 - 18 (1.2 - 1.8, 9 - 13)
Pressure pipe to oil pump ; 55 - 65 (5.5 - 6.5, 40 - 47)


Return hose and tube
1. Drain the power steering fluid by disconnecting the return hose(A).




2. Remove the return hose(B) from the power steering reservoir tank(A).




3. Remove the return tube(A) from the valve body housing.




4. Remove the three brackets of the return tube and hose from the front subframe.




5. Installation is reverse of the removal.

Tightening torque Nm (kgf-m, lb-ft) :
Return tube to gear box ; 12 - 18 (1.2 - 1.8, 9 - 13)