Operation CHARM: Car repair manuals for everyone.
Manuals through 2025 now available!

Our trusted friends have launched a new website named LEMON, which has newer manuals. It also contains all the CHARM manuals.

LEMON is the spiritual successor to CHARM, I recommend you try it!

Link: lemon-manuals.la or lemon-manuals.org.ua

(Some people have issue connecting. LEMON is investigating. For now, use Firefox or change your DNS server)

Or, hide this message: temporarily or permanently

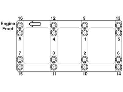
Main Bearing Cap Bolt








Bearing Cap Bolt

Tightening torque
M8 15.7 ± 2.9 Nm (1.6 ± 0.3 kgf.m, 11.6 ± 2.2 lb-ft) + 90°+ 5°
M10 29.4 ± 2.9 Nm (3.0 ± 0.3 kgf.m, 21.7 ± 2.2 lb-ft) + 90°+ 5°

NOTE:
- Use new main bearing cap bolt with engine oil applied.
- If any of the bearing cap bolts are broken or deformed, replace it.
- Washers have their direction(Up/Down)
- Assemble the bearing cap bridge on which its arrow mark faces the engine front.
- Before tightening, make the bearing caps be seated on the block firmly.