Operation CHARM: Car repair manuals for everyone.
Manuals through 2025 now available!

Our trusted friends have launched a new website named LEMON, which has newer manuals. It also contains all the CHARM manuals.

LEMON is the spiritual successor to CHARM, I recommend you try it!

Link: lemon-manuals.la or lemon-manuals.org.ua

(Some people have issue connecting. LEMON is investigating. For now, use Firefox or change your DNS server)

Or, hide this message: temporarily or permanently

Repair Procedures





Removal

1. Remove the transaxle assembly.
2. Remove the clutch cover bolts. Be careful not to be bent or twist bolts. Loosen bolts in diagonal directions.






Inspection

1. Inspect diaphragm spring wear which is in contact with a concentric slave cylinder bearing.
2. Check the clutch cover and disc surface for wear or cracks.
3. Check the clutch disc lining for slipping or oil marks.
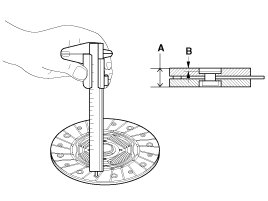
4. Measure the depth from a clutch lining surface to a rivet. If the measured value is less than the specification below, replace it.

Standard value
Clutch disc thickness (A)[when free]:
8.7 ± 0.3 mm (0.3425 ± 0.012 in.)
Clutch disc rivet depth (B): 1.3 mm (0.0512 in.)





Installation

NOTE:
If reinstalling used cover, the cover should be installed with its clutch disc as a set.

1. Replace a clutch cover and disc as a set.

NOTE:
- When replacing only a disc, a slip problem can occur because of the load loss due to uneven surface wear.
- When replacing only a disc, it can be difficult to cut power because the thickness of the disc won't permit it.

2. Apply grease on a disc spline part and transmission input shaft spline part as required.

NOTE:
* Possible problems when not following recommendations:
- When not applying enough grease: Excessive wear of spline sand bad clutch operation can occur.
- When excessive grease is applied:
Grease can be scattered by centrifugal force which can contaminate the clutch disc.
This can cause a loss of friction force causing a slip.




3. The 'T/M SIDE' marked surface should face the engineer.

CAUTION:
* Possible problems when the disc is installed in the opposite direction.
- There can be an interference between the concentric slave cylinder on the TM side and a engine flywheel surface.
- Transaxle shift error or a strange sound can occur due to clutch separation.
- The concentric slave cylinder can break. If it does, the concentric slave cylinder should be replaced new one.




4. Install the clutch disc and the cover with SST (A : 09411-1P000).




5. Install the clutch cover bolts. Not to be bent or twisted, Tighten them in diagonal directions.

Tightening torque:
24.5 - 35.3 N.m (2.5 - 3.6 kgf.m, 18.1 - 26.0 lb-ft)

CAUTION:
- Loosely tighten every clutch cover bolts, then torque to specifications in a diagonal direction. This can prevent twisting, vibration of the cover, and the lifting of the pressure plate.
- Install the all the components with the specified torques. If not, the clutch torque transmission may have concerns or the mounting bolt can loosen.




6. Install the transaxle assembly.
7. Perform the bleeding air procedure in the concentric slave cylinder.