Operation CHARM: Car repair manuals for everyone.
Manuals through 2025 now available!

Our trusted friends have launched a new website named LEMON, which has newer manuals. It also contains all the CHARM manuals.

LEMON is the spiritual successor to CHARM, I recommend you try it!

Link: lemon-manuals.la or lemon-manuals.org.ua

(Some people have issue connecting. LEMON is investigating. For now, use Firefox or change your DNS server)

Or, hide this message: temporarily or permanently

Repair Procedures





Removal

1. Remove the transaxle assembly.
2. Insert the special tool (09411-11000) in the clutch disc to prevent the disc from shifting.




3. Loosen the bolts(Gasoline : 6ea, Diesel : 9ea) which attach the clutch cover to the flywheel in a star pattern. Loosen the bolts in succession, one or two turns at a time, to avoid bending the cover.

NOTE:
Do not clean the clutch disc or the release bearing with cleaning solvent.

Inspection

Clutch cover assembly
1. Check the diaphragm spring end for wear and uneven height.
2. Check the pressure plate surface for wear, cracks and color change.
3. Check the rivets for looseness and replace the clutch cover assembly if necessary.
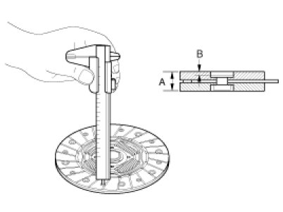
Clutch disc
1. Check the clutch facing for loose rivets, uneven contact, deterioration due to seizure, adhesion of oil, or grease, and replace the clutch disc if defective.
2. Measure the thickness of the disc when free.

Standard value
Clutch disc thickness(A)[when free]
Clutch disc rivet depth(B)
: refer to 'SERVICE STANDARD' in GENERAL section.




3. Check for the torsion spring play and damage and if defective, replace the clutch disc.
4. Clean the splines on the input shaft and install the clutch disc.
If the disc does not slide smoothly or if play is excessive, replace the clutch disc and/or the input shaft.
Clutch release bearing

CAUTION:
The release bearing is packed with grease. Do not use cleaning solvent or oil.

Standard grease: CASMOLY L9508
1. Check the bearing for seizure, damage or abnormal noise. Also check the diaphragm spring contacting points for wear.
2. Replace the bearing if the release fork contacting points are worn abnormally.
Clutch release fork
If there is abnormal wear at the point of contact with the bearing, replace the release fork assembly.

Installation

1. Apply multipurpose grease to the spline of the disc.

Grease: CASMOLY L 9508

CAUTION:
When installing the clutch, apply grease to each part, but be careful not to apply excessive grease.
It can cause clutch slippage and vibration (shudder).





2. Temporarily install the clutch disc assembly to the flywheel using the special tool (09411-11000).




3. Tighten the bolts one or two steps at a time in a star pattern.

Tightening torque
: 15 - 22 Nm (1.5 - 2.2 kgf.m, 10.9 - 16.0 lb-ft)




4. Remove the clutch disc guide (09411-11000).
5. Install the transaxle assembly to the engine.