Operation CHARM: Car repair manuals for everyone.
Manuals through 2025 now available!

Our trusted friends have launched a new website named LEMON, which has newer manuals. It also contains all the CHARM manuals.

LEMON is the spiritual successor to CHARM, I recommend you try it!

Link: lemon-manuals.la or lemon-manuals.org.ua

(Some people have issue connecting. LEMON is investigating. For now, use Firefox or change your DNS server)

Or, hide this message: temporarily or permanently

Heater Core Case: Service and Repair



HEATER/FAN UNIT

Remove, Overhaul and refit

REMOVE FROM VEHICLE


1. Remove bonnet and disconnect battery.
2. Remove radiator bottom hose at radiator union and drain cooling system.
3. Slacken and remove the heater hoses at heate. box unions.
4. Remove outer cable securing clips.
5. Slacken and remove control cables at the heater box.
6. Remove heater wiring harness securing loop.
7. Disconnect hamess multi-plug.
8. Remove interior bulkhead trim.






9. Remove lower nuts and bolts securing the heater unit to the bulkhead.
10. Slacken heater unit upper retaining bolts.
11. Manoeuvre heater unit clear of engine bay.






Overhaul

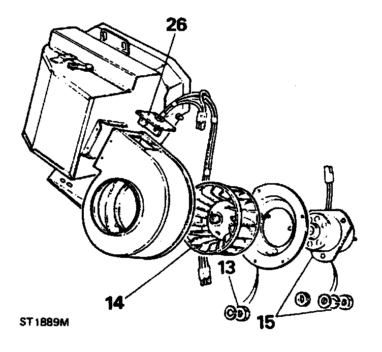
Fan Motor Assembly

12. Remove the nuts securing the angled bracket to the heater unit, and remove the bracket.
13. Remove the five nuts securing the fan assembly to the heater unit. Unplug the connector and remove the fan assembly from the heater unit.
14. Remove circlip holding the impeller to the drive shaft and remove the impeller.
15. Remove the three nuts securing the fan motor to the mounting plate and release the motor from the plate.






16. Fit fan motor into mounting plate, apply Bostik 1261 adhesive to mating faces, and secure with the three nuts.
17. Refit impeller to fan drive shaft and fit circlip.
18. Refit fan assembly to casing and secure with the five nuts.
19. Plug in connector to resistor harness and refit angled bracket.

Heater Matrix

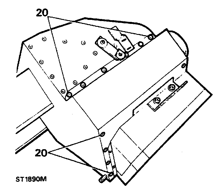
20. Drill out rivets holding the air duct and top cover to the casing. (Three of the rivets are concealed by the rubber seal).






21. Lift off cover, air duct and seal.
22. Lift heater matrix out of casing.
23. Fit foam rubber to heater matrix casing and position matrix in casing.






24. Check that flap valves operate correctly and without sticking.
25. Refit top cover and rivet into place.

Resistor Unit

26. Drill out the tour rivets retaining the resistor mounting plate, and lift out plate with resistor.
27. Apply Bostik adhesive to resistor plate and secure in position with rivets.

REFIT TO VEHICLE

28. Smear heater unit sealing rubber with a suitable impact adhesive, and locate to heater.
29. Place heater unit into engine bay and manoeuvre into position on bulkhead.
30. Loosely fit lower heater unit nuts and bolts.
31. Tighten heater unit upper securing bolts.
32. Tighten lower nuts and bolts.
33. Refit interior bulkhead trim.
34. Locate heater wiring harness into securing loop, and tighten nut.
35. Connect harness multi-plug.
36. Refit control cable outer clip and inner cable pinch bolts.
37. If necessary, prime heater matrix with coolant mixture.
38. Connect hoses to heater unit and tighten hose clips.
39. Refit radiator bottom hose and refill cooling system with the required anti-freeze concentration or corrosion inhibitor.
40. Refit bonnet.
41. Connect battery, start engine, and check for leaks.
42. After engine has cooled check coolant level in the expansion tank and radiator. Top up if necessary.