Operation CHARM: Car repair manuals for everyone.
Manuals through 2025 now available!

Our trusted friends have launched a new website named LEMON, which has newer manuals. It also contains all the CHARM manuals.

LEMON is the spiritual successor to CHARM, I recommend you try it!

Link: lemon-manuals.la or lemon-manuals.org.ua

(Some people have issue connecting. LEMON is investigating. For now, use Firefox or change your DNS server)

Or, hide this message: temporarily or permanently

Front Door Window Glass: Service and Repair


Front Door Window Glass

Service Repair No - 76.31.01


Remove





1. Remove mounting panel.
2. Remove window regulator.
3. Push glass up to top of its travel and support with a suitable length of timber.
4. Remove 2 self tapping screws securing window glass runner on latch side of door and single screw from hinge side.





5. Taking care not to damage paint, prise exterior waist weather strip from door.
6. Remove limber support and lower glass to bottom of door.





7. Ease runner from glass at hinge side of door, lift glass over bottom edge of door and withdraw.


Refit





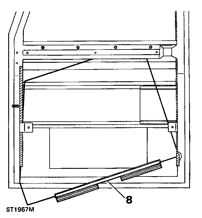
8. Insert glass into runners at an angle as illustrated.
9. Whilst lifting glass, position it squarely in runners, raise to top of travel and insert timber support.
10. Secure hinge side runner with single screw ensuring that packing strip is in position.
11. Locate packing strip and secure opposite runner with 2 screws. Ensure that all 3 screw heads are well below bottom of runners to prevent damage to glass.
12. Locate regulator in window lift channels.
13. Fit mounting panel.