Operation CHARM: Car repair manuals for everyone.
Manuals through 2025 now available!

Our trusted friends have launched a new website named LEMON, which has newer manuals. It also contains all the CHARM manuals.

LEMON is the spiritual successor to CHARM, I recommend you try it!

Link: lemon-manuals.la or lemon-manuals.org.ua

(Some people have issue connecting. LEMON is investigating. For now, use Firefox or change your DNS server)

Or, hide this message: temporarily or permanently

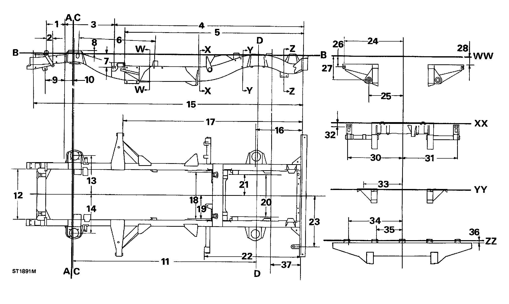
Frame: Specifications



Chassis Alignment Dimensions





A Front Datum
B Chassis Datum
C Front axle center line
D Rear axle center line

1. 239,0 - 236,5 mm 9.41 - 9.31 in
2. 82,0 - 79,5 mm 3.23 - 3.13 in
3. 633 mm 24.921 in
4. 2420,6 - 2418,6 mm 94.51 - 95.22 in
5. 2306,4 - 2305,4 mm 90.80 - 90.76 in
6. 981,2 - 978,7 mm 38.63 - 38.53 in
7. 182,7 mm 7.19 in
8. 41,5 - 37,0 mm 1.63 - 1.46 in
9. 252 - 250 mm 9.92 - 9.84 in
10. 110 mm 4.33 in
11. 2360 mm 92.91 in - Wheelbase
12. 636 - 634 mm 25.04 - 24.96 in
13. 488 - 483 mm 19.21 - 19.01 in
14. 488 - 483 mm 19.21 - 19.01 in
15. 3431,1 - 3426,1 mm 135.08 - 134.89 in
16. 588,3 - 586,3 mm 23.16 - 23.08 in
17. 2313,8 - 2311,8 mm 91.09 - 91.06 in
18. 590,5 mm 23.25 in
19. 295,25 mm 11.62 in
20. 519,60 - 517,00 mm 20.46 - 20.35 in
21. 259,80 - 258,50 mm 10.23- 10.18 in
22. 1242,6 - 1240,6 mm 48.92- 48.84 in
23. 642,5 - 639,5 mm 25.30 - 25.18 in
24. 750,9 mm 29.56 in
25. 439,5 - 436,5 mm 17.30 - 17.18 in
26. 136,5 mm 5.37 in
27. 299,5 - 295,5 mm 11.79 - 11.63 in
28. 103 - 100 mm 4.06 - 3.94 in
29. 131,5 - 126,5 mm 5.18 - 4.98 in
30. 705,5 - 704,5 mm 27.76- 27.74 in
31. 705,5 - 704,5 mm 27.76 - 27.74 in
32. 42,2 - 40,2 mm 1.66 - 1.58 in
33. 491 - 486 mm 19.33 - 19.13 in
34. 594,2 - 593,4 mm 23.39 - 23.36 in
35. 283,0 - 282,2 mm 11.14 - 11.11 in
36. 32,25 - 31,25 mm 1.27 - 1.23 in
37. 397 - 395 mm 15.63 - 15.55 in







Chassis frame alignment
With the vehicle assembled a check for chassis squareness can be made as follows:
1. Place the vehicle on a level floor.
2. Mark measuring points at approximately the locations shown, ensure that the marks are exactly opposite on each side of the chassis frame.
3. Hold a plumb line against each of the measuring points in turn and mark the floor directly beneath the plumb-bob.
4. Move the vehicle and measure diagonally between the marks made on the floor, if the chassis is square the diagonals between the related measuring points should agree within 9,50 mm.
5. Chassis frame dimensional checks can be made, with the vehicle upper structure removed, referring to the applicable illustration and associated key.