Operation CHARM: Car repair manuals for everyone.
Manuals through 2025 now available!

Our trusted friends have launched a new website named LEMON, which has newer manuals. It also contains all the CHARM manuals.

LEMON is the spiritual successor to CHARM, I recommend you try it!

Link: lemon-manuals.la or lemon-manuals.org.ua

(Some people have issue connecting. LEMON is investigating. For now, use Firefox or change your DNS server)

Or, hide this message: temporarily or permanently

Condenser HVAC: Service and Repair


Condenser

Service Repair No - 82.15.01

Remove

1. Recover refrigerant from A/C system.
2. Remove radiator.







3. Disconnect multiplug from dual pressure switch.
4. Remove bolt securing evaporator pipe to condenser.
5. Disconnect evaporator pipe from condenser and discard '0' ring.
6. Remove bolt securing evaporator pipe to receiver drier.
7. Disconnect evaporator pipe from receiver drier and discard '0' ring.

CAUTION: Always fit plugs to open connections to prevent contamination.







8. Remove 3 remaining bolts securing cooling fan support rails to condenser.
9. Remove condenser.







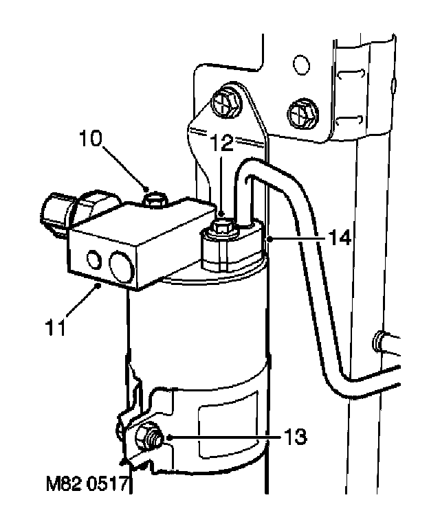
10. Remove bolt securing adaptor block to receiver drier.
11. Remove adaptor block from receiver drier and discard '0' ring.

CAUTION: Always fit plugs to open connections to prevent contamination.

12. Remove bolt securing condenser pipe to receiver drier.
13. Remove clamp bolt receiver drier to bracket and remove drier from bracket.
14. Remove and discard '0' ring from condenser pipe.

CAUTION: Always fit plugs to open connections to prevent contamination.







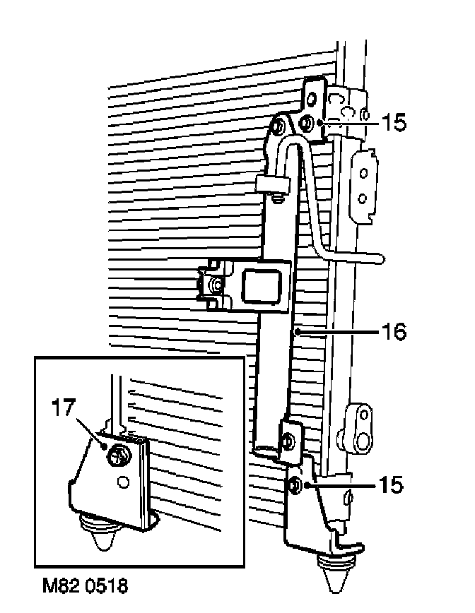
15. Remove 2 remaining bolts securing receiver drier brackets and condenser LH mounting bracket to condenser.
16. Remove mounting bracket assembly.
17. Remove remaining bolt securing condenser RH mounting and remove mounting.







18. Remove sealing strip from outer upper seam of condenser.
19. Remove captive nut plates from condenser.

Refit

1. Fit captive nut plates to new condenser.
2. Fit seal to condenser.
3. Fit RH mounting bracket to condenser and secure with bolt.
4. Fit receiver drier bracket assembly and secure with bolts.
5. Ensure condenser pipe and new receiver drier connections are clean.
6. Lubricate new '0' ring with refrigerant oil and fit to condenser pipe.
7. Fit receiver drier to bracket and condenser pipe. Tighten bolt securing condenser pipe to 5 Nm (3.7 ft. lbs.). Fit clamping bolt securing receiver drier to bracket and tighten to 5 Nm (3.7 ft. lbs.).
8. Ensure adaptor block and receiver drier connections are clean.
9. Lubricate new '0' ring with refrigerant oil and fit to adaptor block.
10. Fit adaptor block to receiver drier and tighten bolt to 5 Nm. (3.7 ft. lbs.).
11. Fit condenser assembly.
12. Fit cooling fan to condenser and fit bolts to secure support rails to condenser brackets.
13. Ensure connections of condenser, receiver drier and evaporator pipes are clean.
14. Lubricate new '0' ring seals with refrigerant oil and fit one seal to each evaporator pipe.
15. Connect evaporator pipes and tighten bolts to 5 Nm (3.7 ft. lbs.).
16. Connect multiplug to dual pressure switch.
17. Fit radiator.
18. Recharge A/C system.