Operation CHARM: Car repair manuals for everyone.
Manuals through 2025 now available!

Our trusted friends have launched a new website named LEMON, which has newer manuals. It also contains all the CHARM manuals.

LEMON is the spiritual successor to CHARM, I recommend you try it!

Link: lemon-manuals.la or lemon-manuals.org.ua

(Some people have issue connecting. LEMON is investigating. For now, use Firefox or change your DNS server)

Or, hide this message: temporarily or permanently

Evaporator Temperature Sensor / Switch: Service and Repair


Evaporator, Evaporator Thermistor and Thermal Expansion Valve (TXV)

Service Repair No - 82.25.20

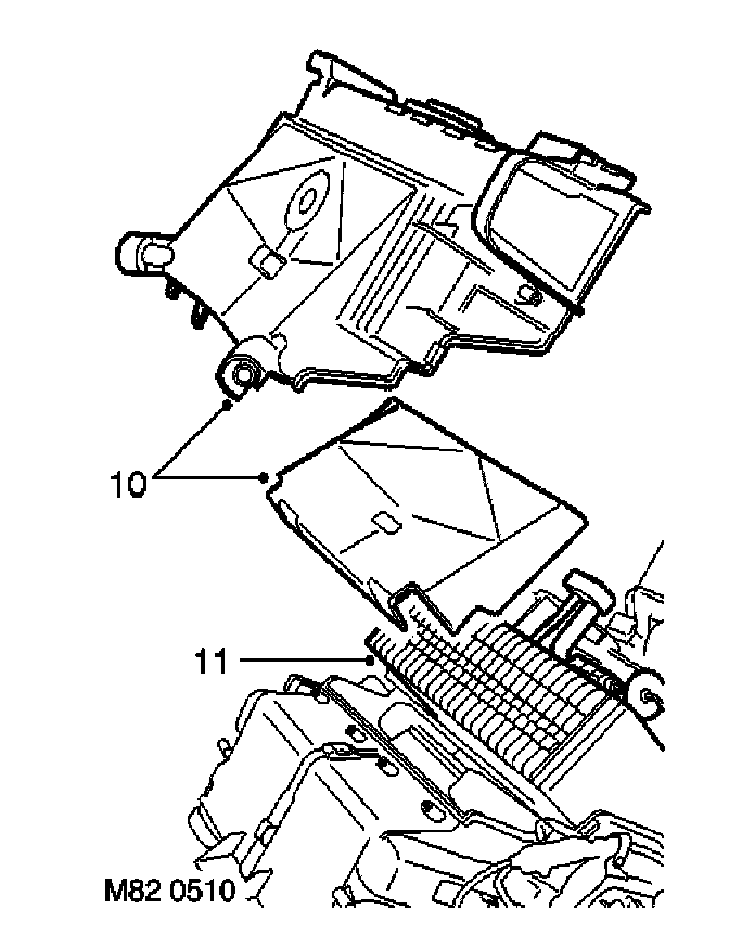
Remove
1. Remove heater assembly.







2. Remove bulkhead and evaporator pipe seals.







3. Disconnect multiplug from evaporator thermistor.







4. Remove 2 screws securing temperature control servos to evaporator casing.







5. Remove 2 screws securing coolant pipe support bracket to casing.
6. Remove screws securing coolant pipe saddle clamp to casing and remove saddle.
7. Remove heater matrix.







8. Remove 5 screws securing casings.







9. Remove 12 spring clips securing casings.







10. Remove evaporator casing and collect insulation.
11. Remove evaporator assembly.







12. Remove evaporator thermistor.







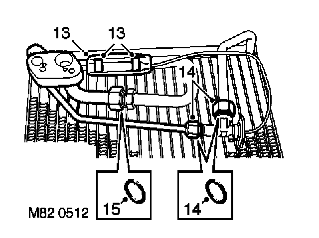
13. Remove covering from TX valve, release 2 clips securing TX valve to pipe.
14. Release 2 unions securing TX valve, remove TX valve, remove and discard '0' rings.
15. Release pipe union, remove pipe and discard '0' ring.

Refit
1. Using a new '0' ring, position pipe to evaporator and tighten union.
2. Using new '0' rings, position TX valve. Connect pressure pipe union and tighten to 22 Nm (16 ft. lbs.). Connect evaporator pipe and tighten to 32 Nm (24 ft. lbs.).
3. Position TX valve sensor to pipe and secure with clips.
4. Fit sensor covering.
5. Fit evaporator thermistor.
6. Fit evaporator assembly.
7. Fit insulation to evaporator casing and fit casing.
8. Secure spring clips.
9. Fit and tighten casing screws.
10. Fit heater matrix, ensuring matrix temperature is correctly positioned.
11. Fit coolant pipe saddle, fit and tighten screws securing saddle and pipe bracket.
12. Fit and tighten temperature servo screws.
13. Connect multiplug to evaporator thermistor.
14. Clean any bulk head seal from casing.
15. Fit bulkhead and evaporator pipe seals.
16. Fit heater assembly.