Operation CHARM: Car repair manuals for everyone.
Manuals through 2025 now available!

Our trusted friends have launched a new website named LEMON, which has newer manuals. It also contains all the CHARM manuals.

LEMON is the spiritual successor to CHARM, I recommend you try it!

Link: lemon-manuals.la or lemon-manuals.org.ua

(Some people have issue connecting. LEMON is investigating. For now, use Firefox or change your DNS server)

Or, hide this message: temporarily or permanently

Air Flow Meter/Sensor: Description and Operation







Mass Air Flow (MAF)/Inlet Air Temperature (IAT) Sensor (C0149)

The MAF/IAT sensors are combined into a single unit and located between the air filter housing and the inlet manifold. The ECM receives input signals from the MAF/IAT sensor to calculate the mass of air flowing into the engine inlet manifold.

Input/Output

The MAF sensor has both electrical input and output. Input to the MAF sensor comes from two different sources. Battery voltage is supplied to the MAF sensor via fuse 2 of the engine compartment fuse box. The MAF sensor also utilises a 5 volt reference input via pin 7 of connector C0636 of the ECM. The MAF sensor output voltage is measured via pin 23 of connector C0636 of the ECM.

The IAT sensor has only electrical output. Output from the IAT sensor is measured at pin 34 of connector C0636 of the ECM, this is a variable voltage/resistance measured by the sensor to provide air temperature information to the ECM.

The MAF/IAT sensor share the same sensor earth. Sensor earth is via pin 9 of connector C0636 of the ECM.

The MAF/IAT sensor and its connector has silver plated terminals for its low current signals to protect against corrosion. DO NOT apply 12 V to the 5 V supply, as this will destroy the internal circuitry. The MAF/IAT sensor should not be dropped or roughly handled and should be kept free from contamination.

Mass Air Flow (MAF) Sensor

The MAF sensor utilises a "hot film" element contained in the air intake duct to monitor the mass of the airflow being drawn into the engine. The MAF sensor contains two sensing elements, one element is controlled at ambient temperature (e.g. 25 °C (77 °F)), while the other is heated to 200 °C (360 °F) above the ambient temperature (e.g. 225 °C (437 °F)).

When the intake air passes the heated element, it cools it down, so lowering the resistance of the hot film element. In order to maintain the same temperature, the circuit to the heated element has to supply more current. The change in current causes a corresponding change in potential difference to be detected in the monitoring circuit. This change is supplied to the ECM as a voltage between 0 and 5 V, where it is processed by the ECM's internal mapping to interpret the data as a measure of the mass of air flow.

The measured air mass flow is used by the ECM to determine the fuel quantity to be injected in order to maintain the stoiciometric air:fuel mixture for optimum engine performance and low emissions.

Normal operating parameters of the MAF sensor are as follows:

MAF Output:





If the MAF sensor fails, the ECM implements a back up strategy which is based on throttle angle. Poor throttle response and reduced performance will result.

The MAF sensor can fail the following ways or supply incorrect signal:
^ Sensor open circuit.
^ Short circuit to vehicle supply.
^ Short circuit to vehicle earth.
^ Contaminated sensor element.
^ Damaged sensor element.
^ Air leak after the MAF sensor.
^ Inlet air restriction.
^ Resistance in wiring harness causing signal offset.

In the event of a MAF sensor signal failure any of the following symptoms may be observed:
^ During driving engine rev/min may dip, before recovering.
^ Difficult starting.
^ Engine stalls after starting.
^ Delayed throttle response.
^ Emissions control inoperative.
^ Idle speed control inoperative.
^ Reduced engine performance.
^ MAF sensor signal offset.

There are two types of MAF sensor diagnostic check:
^ The MAF sensor signal is less than the minimum threshold for specific speed range - the engine must have exceeded 200 rev/min for longer than 300 ms and remain above 400 rev/min. The signal must be less than the threshold mapped against engine speed for longer than 500 ms.
^ The MAF sensor signal is greater than the maximum threshold for specific speed range - the engine must have exceeded 200 rev/min for longer than 10 ms. The signal must be greater than the threshold mapped against engine speed for longer than 300 ms.

If the MAF sensor fails the following fault codes will be produced and can be retrieved by TestBook:





Intake Air Temperature (IAT) Sensor

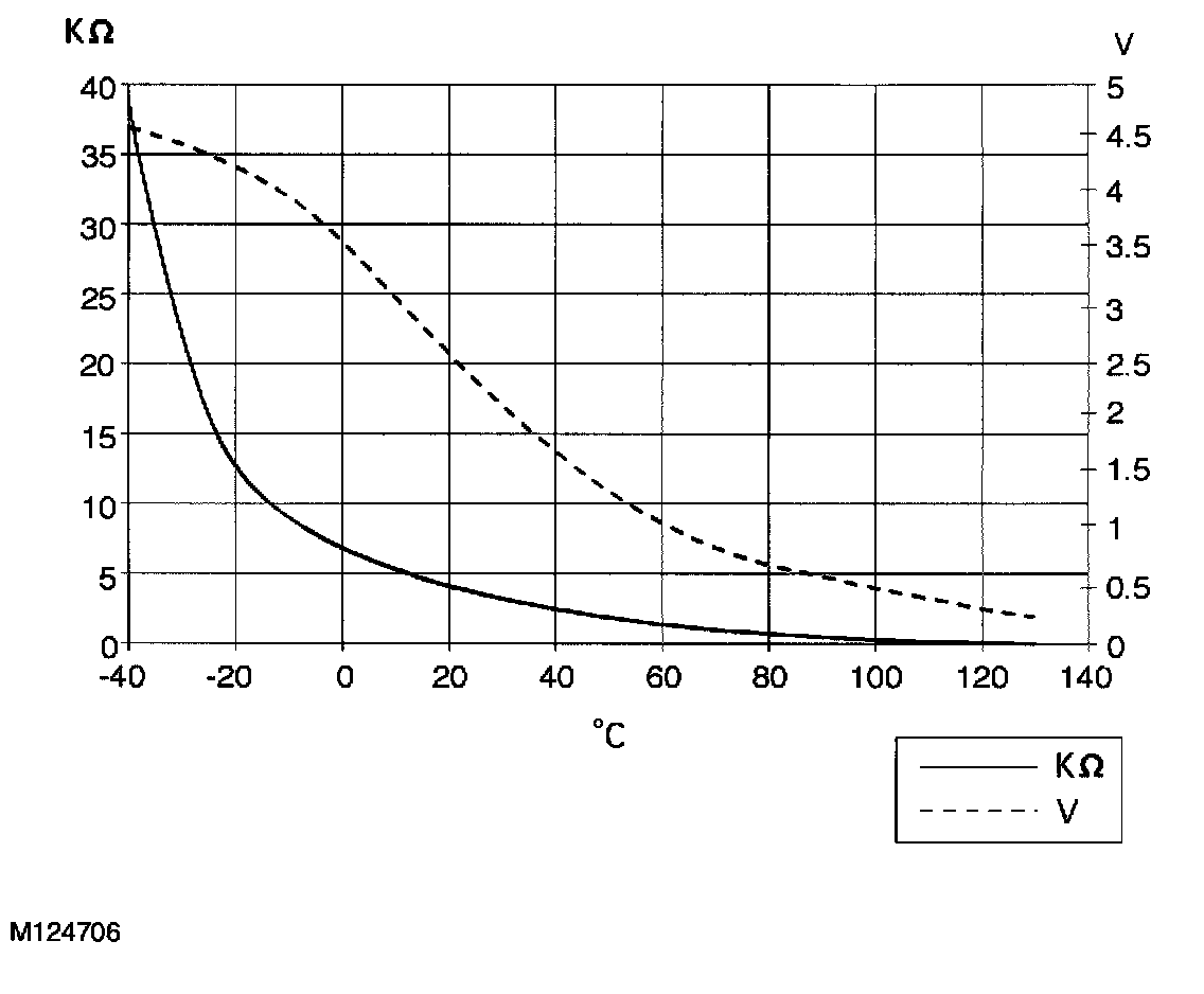
The intake air temperature (IAT) sensor utilises a thermistor with a negative temperature coefficient (NTC); as temperature rises, the thermistor resistance decreases. The change in resistance causes a change in input voltage at the ECM. The ECM converts the voltage value it receives to provide an indication of the temperature of the inlet air.

Normal operating parameters of the AT sensor are as follows:





Should the IAT sensor fail, the ECM defaults to an assumed air temperature of 45 °C (113 °F).

The IAT sensor can fail the following ways or supply incorrect signal:
^ Sensor open circuit.
^ Short circuit to vehicle battery supply.
^ Short circuit to vehicle earth.
^ Increased sensor resistance.
^ Damaged sensor element.

In the event of an IAT sensor signal failure any of the following symptoms may be observed:
^ Adaptive fuelling disabled.
^ Idle speed adaption disabled.
^ Catalyst monitoring affected due to exhaust temperature model.
^ Idle speed actuator test disabled.
^ Warm up ignition angle affected.
^ Condenser fan hot restart inhibited.

There are two types of AT sensor diagnostic checks:
- The IAT sensor signal is less than the minimum threshold - the engine has to have been running for longer than 180 seconds, and idle speed control must have been operational for longer than 10 seconds. No fuel cut off is active. The IAT sensor signal must be less than -35 °C (-31 °F) for longer than 200 ms.
- The IAT sensor signal is greater than the maximum threshold - the ECM has to be powered up (engine does not need to be running), and the signal must be greater than 140 °C (284 °F) for longer than 200 ms.

If the IAT sensor fails the following fault codes will be produced and can be retrieved by TestBook:





Air Intake Duct - Gulf Models From 2000MY
1 Heat reflective insulation
2 Supplementary air intake duct

The density of the intake air is partly dependent on altitude and temperature. Hot air has a lower density than cold air; consequently in hot climates, the low air density can result in low power due to low volumetric efficiency.

In order to improve engine performance, Gulf specification models from 2000MY have a secondary air intake duct which is located under the front left inner wing of the vehicle. Cooler air from the side of the vehicle is routed through the duct to the air cleaner, where it combines with air entering via the front grille.

In addition to the secondary air duct, the vehicles are fitted with a larger front grille and have larger cooling and condenser fans.

The MAF/IAT sensor, air cleaner and air cleaner duct are encased in insulation bags to help keep the intake air cool and so increase the mass of air entering the engine intake manifold.

The air cleaner includes a cyclone filter and also a dump valve in the bottom of the unit. Sand and dust particles which are carried into the air cleaner with the air flow are automatically expunged via the dump valve.