Operation CHARM: Car repair manuals for everyone.
Manuals through 2025 now available!

Our trusted friends have launched a new website named LEMON, which has newer manuals. It also contains all the CHARM manuals.

LEMON is the spiritual successor to CHARM, I recommend you try it!

Link: lemon-manuals.la or lemon-manuals.org.ua

(Some people have issue connecting. LEMON is investigating. For now, use Firefox or change your DNS server)

Or, hide this message: temporarily or permanently

Intermediate Gear Assembly



Intermediate Gear Assembly

Service repair No - 41.20.10

Disassembly





1. Remove and discard 10 bolts securing bottom cover, remove cover.





2. Remove and discard 7 bolts securing differential lock selector side cover.
3. Remove side cover.





4. Release staking from intermediate shaft nut, remove and discard nut.
5. Remove bolt securing intermediate shaft retaining plate, remove plate.





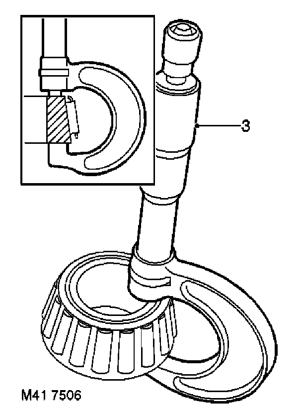
6. Remove intermediate shaft and discard 2 'O' rings.





7. Remove intermediate gear assembly and collect bearings and selective spacer.





8. Secure gear assembly in a soft-jawed vice and using a suitable drift, remove and discard bearing tracks.
9. Up to 03 MY: Remove and discard circlips.

Reassembly
1. Clean gears, bearings, circlips and shaft.

NOTE: Intermediate gear cluster and bearing assemblies fitted to 03 MY transfer boxes may be fitted as replacements to pre 03 MY transfer boxes.





2. Up to 03 MY: Fit new circlips and using tools LRT-99-003 and LRT-41-006 fit bearing tracks to intermediate gear, ensuring that the bearing tracks are fully seated against the circlips.





3. 03 MY onwards: Using tools LRT-99-003 and LRT-41-006, fit bearing tracks to intermediate gears ensuring that tracks are fully seated against shoulders in gears.





4. Using a micrometer, measure the width of each bearing inner track.
5. Record each reading as measurement 'A' and 'B', both measurements should fall within the range of 21.95 to 22.00 mm (0.864 to 0.866 in).
6. Fit inner bearing track 'A' onto tool LRT-41-017 and position intermediate gear cluster onto bearing 'A'.
7. Fit inner bearing track 'B' to intermediate gear, apply finger pressure to bearing inner track and rotate intermediate gear 5 to 10 turns to settle in bearing rollers.





8. Attach a DTI to base of tool LRT-41-017, zero gauge on top of tool post and take 2 measurements at 180 degree of the step height between the top of the tool post and the bearing inner track. Take an average of the two readings and record this as measurement 'C'. Measurement 'C' should be in the range of 0.15 to 0.64 mm (0.006 to 0.025 in).
9. Using the formula 103.554 mm (4.0769 in) -'A'-'B'-'C', calculate the length of bearing spacer required. From the result of the calculation round DOWN to the nearest length of spacer available to give a correct bearing pre-load of 0.005 mm (0.002 in). 40 spacers are available ranging in length from 58.325 mm (2.296 in) to 59.300 mm (2.335 in) rising in increments of 0.025 mm (0.001 in).
10. Remove intermediate gear assembly from tool LRT-41-017.
11. Lubricate and fit bearings and selected spacer to intermediate gear.
12. Position tool LRT-41-004 through bearings and spacer.
13. Lubricate and fit 'O' rings to main casing and intermediate shaft.
14. With assistance, position intermediate gear assembly and fit intermediate shaft.
15. Rotate shaft until retaining plate can be located on flat on shaft.
16. Apply Loctite 290 to threads of retaining plate bolt, tighten bolt to 25 Nm (18 lbf.ft).
17. Fit new intermediate shaft Patchlok nut and tighten to 88 Nm (65 lbf.ft).Do not stake nut at this stage.
18. Select neutral.
19. Screw a suitable bolt into tapped hole of tool LRT-41-005.





20. Insert tool LRT-41-005 in end of mainshaft.
21. Using a suitable torque meter on tool LRT-41-005, check torque to turn of gear train. Torque to turn = 2.2 Nm (19 lbf.ft). If torque to turn figure is incorrect, repeat intermediate gear bearing pre-load setting and re-check.
22. On completion, remove tool LRT-41-005 and stake flange of nut into recess on intermediate shaft.
23. Clean transfer box bottom and side covers.
24. Apply sealant, Part No. STC 3254 to both covers.
25. Clean bottom and side cover bolt threads.
26. Apply Loctite 290 to bolt threads.
27. Position side cover and tighten bolts to 25 Nm (18 lbf.ft).
28. Position bottom cover and tighten bolts to 25 Nm (18 lbf.ft).