Operation CHARM: Car repair manuals for everyone.
Manuals through 2025 now available!

Our trusted friends have launched a new website named LEMON, which has newer manuals. It also contains all the CHARM manuals.

LEMON is the spiritual successor to CHARM, I recommend you try it!

Link: lemon-manuals.la or lemon-manuals.org.ua

(Some people have issue connecting. LEMON is investigating. For now, use Firefox or change your DNS server)

Or, hide this message: temporarily or permanently

Part 2



Standard Workshop Practices

Hose clips





Markings are usually provided on the hose to indicate the correct clip position. If no markings are provided, position the clip directly behind the retaining lip at the end of the stub pipe. Worm drive clips should be orientated with the crimped side of the drive housing facing towards the end of the hose or the hose may become pinched between the clip and the stub pipe retaining lip. Unless otherwise stated, worm drive clips should be tightened to 3 Nm (2 lb-ft).
Ensure that hose clips do not foul adjacent components.





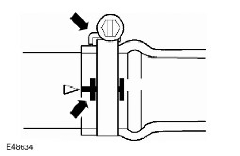
Oetiker clips may be removed by bending the tag (arrowed) and releasing the free end of the clip. Clips must not be reused. When installing new clips, ensure clip is positioned on hose before tightening and ensure that when clip is tightened, the tag is located in the longitudinal slot in the free end of the clip (arrowed in illustration).

'Quick-fit' connections are also installed to certain hoses/pipes. Inspect 'quick-fit' connections for damage, prior to connection. Replace if damaged. After engagement of 'quick-fit' connections, perform a 'tug' test to make sure connection is secure.

Heat protection
Always ensure that heat shields and protective sheathing are in good condition; replace if damage is evident. Particular care must be taken when routing hoses close to hot engine components such as the exhaust manifolds and exhaust gas recirculation (EGR) pipes. Hoses will relax and deflect slightly when hot, ensure this movement is taken into account when routing and securing hoses.

Electrical Precautions

General
The following guidelines are intended to ensure the safety of the operator whilst preventing damage to the electrical and electronic components of this vehicle.

Equipment
Prior to commencing any test procedure on the vehicle, ensure that the relevant test equipment is working correctly and that any harness or connectors are in good condition. It is particularly important to check the condition of all plugs and leads of mains operated equipment.

Polarity
Never reverse connect the vehicle battery and always ensure the correct polarity when connecting test equipment.

High voltage circuits
Whenever disconnecting live ht circuits, always use insulated pliers and never allow the open end of the ht lead to contact other components, particularly ECU's.

Vehicles installed with Navigation

CAUTION: The following precaution must be observed as failure to comply may result in damage to the navigation system computer hardware.

A minimum period of two minutes must have elapsed from the ignition being switched to the 'OFF' position prior to disconnection of the battery.

Vehicles with Bi-Xenon headlamp bulbs installed

WARNING: The following precautions must be observed as failure to comply may result in exposure to ultra-violet rays, severe electric shock, burns or risk of an explosion.

^ Safety goggles and gloves must be worn.
^ Ensure that headlamps are switched off before removing bulbs.
^ Do not touch the glass portion of the bulb.
^ On no account should headlamps be switched on with the bulb removed from the headlamp.
^ Bulb testing may only be carried out with the bulb installed in the headlamp.
^ Bulbs must be disposed of in accordance with the local authority bye-laws.

Connectors and harnesses
The engine compartment of a vehicle is a particularly hostile environment for electrical components and connectors. Always observe the following:
^ Ensure electrically related items are dry and oil free before disconnecting/connecting test equipment.
^ Ensure that disconnected electrical connectors and sensors are protected from any possible oil, coolant or other liquid contamination. Any such contamination could impair performance or lead to component failure.
^ Never force connectors apart or pull on the wiring harness.
^ Always ensure locking tabs are disengaged before disconnecting electrical connectors etc. and ensure that correct orientation is achieved before connection.
^ Ensure that any protection covers, insulation etc. are replaced if disturbed.

Having confirmed that a component is faulty, carry out the following:
^ Switch off the ignition and disconnect the battery.
^ Remove the component and support the disconnected harness.
^ When replacing electrical components, keep oily hands away from electrical connections and ensure that locking tabs on connectors are fully engaged.

Battery Disconnection/Connection
Always refer to Battery Disconnect/Connect prior to attempting to connect or disconnect the battery.

Fuel Handling Precautions
The following information lists basic precautions which must be observed if fuel is to be handled safely. It also outlines other areas of risk which must not be ignored. As this information is issued for basic guidance only, consult your local Fire Department where any doubt as to personal and environmental safety exists - See also Health and Safety Precautions.

General precautions
Always have the correct type of fire extinguisher containing Foam, CO2, Gas or powder accessible when handling or draining fuel or dismantling fuel systems. Fire extinguishers must also be located in areas where fuel is stored.

Ensure that suitable warning signs are exhibited.

Keep all sources of ignition well away from areas where fuel is being handled.

Ensure that any lead lamps are flameproof and kept clear of spillage.

WARNING:
^ Do not disassemble or reassemble fuel system components whilst vehicle is over a pit.
^ No one should be permitted to repair components associated with fuel without first having specialist training.


Always disconnect the vehicle battery before carrying out disassembly, reassembly or draining work on a fuel system.

Fuel tank and system draining
Draining must be carried out in accordance with the procedures given in the relevant Fuel System.

WARNING:
^ Never drain fuel or work on a fuel system while the vehicle is over a pit. Extraction or draining of fuel must be carried out in a well ventilated area.
^ Never switch on or operate mobile (cellular) phones in the vicinity of vehicles when operations are being carried out on the fuel system.
^ Always attach fuel vapor warning labels to fuel tanks immediately after draining.
^ Containers used for storing fuel must be clearly marked with the contents and placed in a safe storage area which meets the requirements of the local authority.


CAUTION: Some fuel lines are now installed with 'quick release' connectors. If a connector is damaged, no attempt must be made to repair the connector, a new fuel line and connector(s) assembly must be installed.

Always release pipe clips fully before attempting to disconnect fuel pipes.

Fuel tank repairs

CAUTION: No attempt should be made to repair a plastic fuel tank. If the structure of the tank is damaged, a new tank must be installed.

Oil seals
Always renew oil seals which have been removed either as an individual component or as part of an assembly. Never use a seal which has been improperly stored or handled.

^ Take great care when removing old seals that the sealing surfaces and seal housing are not damaged.
^ Carefully examine seal before installation to ensure that it is clean and undamaged.
^ Ensure that the surface on which the seal is to run and also the seal housing is clean and free from burrs or scratches. Renew the component if the sealing surface cannot be restored.
^ Special tools and protection sleeves are provided for installing the majority of seals and must be used when specified.
^ Many seals are now coated with a protective wax and DO NOT need to be lubricated prior to installation. Always check the relevant repair procedure which will state if a seal must be installed dry. Never touch these seals with oily hands as the oil will contaminate the protective coating and affect the sealing properties of the seal; also, ensure that installation tools and protection sleeves are free from oil and grease. Seals which must be lubricated prior to installation should have the recommended lubricant applied to the areas specified in the repair procedure.
^ Ensure that a seal is installed the correct way round. For example, the lip of the seal must face towards the lubricant which it is sealing.
^ When installing an oil seal, ensure that it is positioned square to shaft and housing. Where the seal is to be installed to a housing prior to installing over a shaft, take care not to allow the weight of an unsupported shaft to rest on the seal.





^ Always use the recommended special tool and protection sleeve to install an oil seal. If no tool is specified, use a suitable mandrel approximately 0.4 mm (0.015 in) smaller than the outside diameter of the seal. Use adhesive tape on the shaft to protect the sealing lip of the seal.





^ Press or drift the seal in to the depth of its housing if the housing is shouldered or flush with the face of the housing where no shoulder is provided. Ensure that the seal is not tilted in the housing when it is installed.

Supplemental Restraint System (SRS) Precautions

WARNING: Do not install rear facing child seats in the front passenger seat.

The SRS contains components which are potentially hazardous to service personnel if not handled correctly. The following guidelines and precautions are intended to alert personnel to potential sources of danger and emphasise the importance of ensuring the integrity of the SRS components installed to the vehicle.

WARNING: The following precautions MUST be adhered to when working on
the SRS:


^ The correct procedures must always be used when working on SRS components.
^ Persons working on the SRS must be fully trained and have been issued with the safety guidelines.
^ The air bag modules contain extremely flammable and hazardous compounds. Contact with water, acids or heavy metals may produce harmful or explosive results. Do not dismantle, incinerate or bring into contact with electricity before the unit has been deployed.
^ Always replace a safety belt assembly that has withstood the strain of a severe vehicle impact or if the webbing shows signs of fraying.
^ Allow a period of 10 minutes to elapse after disconnecting the battery before undertaking any work on the SRS.
^ Always disconnect the vehicle battery before carrying out any electric welding on a vehicle installed with SRS.

CAUTION: Do not expose air bag modules or safety belt pre-tensioners to temperatures exceeding 85 degrees C (185 degrees F).

It should be noted that these precautions are not restricted to operations performed when servicing the SRS. The same care should be exercised when working on ancillary systems and components located in the vicinity of SRS components; these include but are not limited to:
^ Driver air bag, clockspring.
^ Passenger air bag.
^ Side Air Curtains - front and rear.
^ Safety belt pre-tensioners.
^ SRS harnesses, link leads and connectors.

Making the system safe
Before working on or in the vicinity of SRS components, ensure the system is rendered safe by performing the following operations:
^ Remove the ignition key.
^ Disconnect the battery, earth lead first.
^ Wait 10 minutes for the SRS power circuit to discharge before commencing work.

NOTE: The SRS uses energy reserve capacitors to keep the system active in the event of electrical supply failure under crash conditions. It is necessary to allow the capacitors sufficient time to discharge (10 minutes) in order to avoid the risk of accidental deployment.

Installation
In order to ensure system integrity, it is essential that the SRS system is regularly checked and maintained so that it is ready for effective operation in the event of a collision. Carefully inspect SRS components before installation. Do not install a part that shows signs of being dropped or improperly handled, such as dents, cracks or deformation.

WARNING: The integrity of the SRS is critical for safety reasons. Ensure the following precautions are always adhered to:

^ Do not install accessories or other objects to trim panels which cover air bags.
^ Never install used SRS components from another vehicle or attempt to repair an SRS component.
- When repairing an SRS system, only use genuine new parts.
^ Never apply electrical power to an SRS component unless instructed to do so as part of an approved test procedure.
^ Special fixings are necessary for installing an air bag module - do not use other fixings and ensure that all fixings are tightened to the correct torque.
^ Always use new fixings when replacing an SRS component.

CAUTION:
^ Take care not to trap air bag modules when installing interior trim components.
^ Ensure SRS components are not contaminated by oil or grease.


NOTE:
^ Following safety belt pre-tensioner deployment, the safety belts can still be used as conventional safety belts but will need to be replaced as soon as possible to ensure full SRS protection.
^ If the SRS components are to be replaced, the part number/bar code of the new unit must be recorded.

SRS component testing precautions

The SRS components are triggered using relatively low operating currents, always adhere to the following:

WARNING: Never use a multimeter or other general purpose equipment on SRS components. Use only T4 to diagnose system faults.





WARNING: Do not use electrical test equipment on the SRS harness while it is connected to any of the SRS components, it may cause accidental deployment and injury.

Handling and storage

Always observe the following precautions when handling SRS components:





^ Never drop an SRS component. The air bag diagnostic control unit is a particularly shock sensitive device and must be handled with extreme care. Air bag modules and safety belt pre-tensioners could deploy if subjected to a strong shock.
^ Never wrap your arms around an air bag module. If a module has to be carried, hold it by the cover with the cover uppermost and the base away from your body.
^ Never transport air bag modules or safety belt pre-tensioners in the passenger compartment of a vehicle. Always use the luggage compartment of the vehicle for carrying air bag modules and safety belt pre-tensioner units.
^ Never attach anything to an air bag cover or any trim component covering an air bag module. Do not allow anything to rest on top of an air bag module.
^ Always keep components cool, dry and free from contamination.
^ Never apply grease or cleaning solvents to safety belt pre-tensioner units, component failure could result.
^ Always store an air bag module with the deployment side uppermost. If it is stored deployment side down, accidental deployment will propel the air bag module with sufficient force to cause serious injury.
^ Keep new air bag modules in their original packaging until just prior to installation. Place the old module in the empty packaging for carriage.





WARNING:
^ When handling any SRS component, hold by the gas generator housing, DO NOT hold by the air bag. Do not wrap the thumb around the gas generator while holding. Do not drape air bag over shoulder or around neck. For safety belt buckle type pre-tensioners, hold by the piston tube, with the open end of the piston tube pointing towards the ground and the buckle facing away from your body. Do not cover the end of the piston tube. DO NOT hold buckle type pre-tensioners by the bracket assembly or cable. Never point the piston tube towards your body or other people.
^ Air bag modules and safety belt pre-tensioners are classed as explosive devices. For overnight and longer term storage, they must be stored in a secure steel cabinet which has been approved as suitable for the purpose and has been registered with the local authority.
^ Store air bag modules or safety belt pre-tensioners in a designated storage area. If there is no designated storage area available, store in the locked luggage compartment of the vehicle and inform the workshop supervisor.


CAUTION: Improper handling or storage can internally damage the air bag module making it inoperative. If you suspect the air bag module has been damaged, install a new module and refer to the deployment/disposal procedures for disposal of the damaged module.

SRS harness and connectors

Always observe the following precautions with regards to SRS system electrical
wiring:





^ Never attempt to modify, splice or repair SRS wiring.
^ Never install electrical equipment such as a mobile telephone, two-way radio or in-car entertainment system in such a way that it could generate electrical interference in the air bag harness. Seek specialist advice when installing such equipment.

NOTE: SRS wiring can be identified by a special yellow outer sleeve protecting the wires (black with yellow stripe protective coverings are sometimes used).





WARNING: Always ensure SRS wiring is routed correctly. Be careful to avoid trapping or pinching the SRS wiring.





WARNING: Do not leave the connectors hanging loose or allow SRS components to hang from their harnesses. Look for possible chafing points.

Impact sensors - inspection
After any degree of side or frontal body damage, inspect the impact sensors. Replace a sensor if there is any sign of damage.

CAUTION: Take extra care when painting or carrying out bodywork repairs in the vicinity of the impact sensors. Avoid direct exposure of the impact sensors or link harnesses to heat guns, welding or spraying equipment. Take care not to damage sensor or harness when reinstalling components.

Clockspring

CAUTION: Always follow the procedure for installing and checking the clockspring as instructed in the SRS repairs information. Comply with all safety and installation procedures to ensure the system functions correctly. Observe the following precautions:
^ Do not unlock and rotate the clockspring when it is removed from the vehicle.
^ Do not turn the road wheels when the clockspring is removed from the vehicle.
^ Always ensure the clockspring is removed and installed in its central position and with the front road wheels in the straight ahead position - refer to SRS repair information for the correct removal and installation procedure.
^ If a new clockspring is being installed, ensure the locking tab holding the spring's rotational position is not broken; units with a broken locking tab must not be used.


Air bag and pre-tensioner deployment

WARNING: During deployment parts of the air bag module become hot enough to burn you. Wait 30 minutes after deployment before touching the air bag module.

Deployment procedures and precautions as detailed should be
strictly adhered to. Only personnel who have undergone the appropriate training should undertake deployment of air bag and pre-tensioner modules. The following precautions must be complied with:
^ Only use deployment equipment approved for the intended purpose.
^ Deployment of air bag/pre-tensioner modules must be performed in a well ventilated area which has been designated for the purpose.
^ Ensure air bag/pre-tensioner modules are not damaged or ruptured before attempting to deploy.
^ Where local legislation exists, notify the relevant authorities of intention to deploy air bag and pretensioner units.
^ When deploying air bag pre-tensioner units, ensure that all personnel are at least 15 metres (45 feet) away from the deployment zone.
^ Ensure deployment tool is connected correctly, in compliance with the instructions detailed in the SRS. In particular, ensure deployment tool is NOT connected to battery supply before connecting to air bag module connector.
^ When deploying safety belt pre-tensioners, ensure pre-tensioner unit is secured correctly to the seat.
^ When removing deployed air bag modules and pre-tensioner units, wear protective clothing. Use gloves and seal deployed units in a plastic bag.
^ Following deployment of any component of the SRS system within the vehicle, all SRS components must be replaced. DO NOT re-use or salvage any parts of the SRS system.
^ Do not lean over an air bag module when connecting deployment equipment.

If a vehicle is to be scrapped, undeployed air bag modules and pre-tensioner units must be manually deployed. In this case air bags can be deployed in the vehicle. Before deployment, ensure the air bag module is secure within its correct mounting position. Deployment of the driver air bag in the vehicle may damage the steering wheel; if the vehicle is not being scrapped, deploy the module outside of the vehicle.