Operation CHARM: Car repair manuals for everyone.
Manuals through 2025 now available!

Our trusted friends have launched a new website named LEMON, which has newer manuals. It also contains all the CHARM manuals.

LEMON is the spiritual successor to CHARM, I recommend you try it!

Link: lemon-manuals.la or lemon-manuals.org.ua

(Some people have issue connecting. LEMON is investigating. For now, use Firefox or change your DNS server)

Or, hide this message: temporarily or permanently

Part 2



Standard Workshop Practices

Pipes and Hoses
When removing or installing flexible hydraulic pipes and hoses, ensure that the following procedures are observed to ensure component serviceability:
^ Prior to removal, clean area around hose or pipe end which is to be disconnected.
^ Obtain appropriate blanking plugs or caps before disconnecting hose or pipe end fittings in order that connections can be plugged immediately following disconnection.
^ Always fit blanking plugs or caps to pipes and unions immediately following disconnection.
^ Clean hose or pipe and blow through with an air line.

WARNING: Suitable eye protection must be worn.

^ Check hoses externally for cracks, separation of plies, security of end fittings and external damage; replace faulty hoses.
^ Check pipes for signs of corrosion and chafing, replace as necessary.

CAUTION: If pipes are found to be chafed, rectify clips, mounting points etc., to prevent further problems in service.

^ When fitting hoses, ensure that no unnecessary bends are introduced and that hoses are not kinked, twisted or positioned close to potential chafing points.
^ When fitting pipes, ensure that pipes are positioned and clipped clear of potential chafing points.
^ Always replace sealing washers fitted to banjo bolts, sealing plugs etc.
^ Always use a backing spanner when tightening unions and do not overtighten union nuts or banjo bolts.
^ After any work on hydraulic systems, always check for fluid leaks whilst a second operator applies working pressure to the brake pedal or operates the system that has been worked on.

Fuel system hoses





All fuel hoses are made up of two laminations, an armoured rubber outer sleeve and an inner viton core. Whenever a hose is removed, ensure that the inner bore is inspected to check that the viton lining has not become separated from the outer sleeve.

WARNING: Never attempt to repair fuel hoses or rectify leaking 'quick-fit' connectors the fuel hose and connectors must be replaced as an assembly.

Fuel system hose clips





Certain fuel system hose clips are of the 'break-off head' type where a slot in the screw head shears off when the clip is tightened to a specific torque. These clips may be removed using a screwdriver and must be replaced with new clips on reassembly. Clips must be tightened until the portion of the slot shears off. Do not attempt to tighten clips by any other method, do not fit any other type of clip.

Cooling system hoses

CAUTION: The following precautions must be observed to ensure that the integrity of the cooling system hoses and their connection to the system is maintained.

Hose orientation and connection
Correct orientation of cooling system hoses is important to ensure that hoses do not become fatigued or damaged through contact with adjacent components.





Where orientation marks are provided on the hose and corresponding component, the marks must be aligned when the hose is fitted. Hoses must be fitted fully on to their connection points, usually a moulded form on a pipe provides a positive indicator.

Hose clips





Markings are usually provided on the hose to indicate the correct clip position. If no markings are provided, position the clip directly behind the retaining lip at the end of the stub pipe. Worm drive clips should be orientated with the crimped side of the drive housing facing towards the end of the hose or the hose may become pinched between the clip and the stub pipe retaining lip. Unless otherwise stated, worm drive clips should be tightened to 3 Nm (2 lb-ft). Ensure that hose clips do not foul adjacent components.





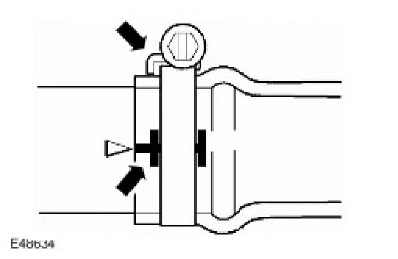
Oetiker clips may be removed by bending the tag (arrowed) and releasing the free end of the clip. Clips must not be reused. When fitting new clips, ensure clip is positioned on hose before tightening and ensure that when clip is tightened, the tag is located in the longitudinal slot in the free end of the clip (arrowed in illustration).

Heat protection
Always ensure that heatshields and protective sheathing are in good condition; replace if damage is evident. Particular care must be taken when routing hoses close to hot engine components such as the exhaust manifolds and exhaust gas recirculation (EGR) pipes. Hoses will relax and deflect slightly when hot, ensure this movement is taken into account when routing and securing hoses.

Electrical Precautions

General
The following guidelines are intended to ensure the safety of the operator whilst preventing damage to the electrical and electronic components of this vehicle.

Equipment
Prior to commencing any test procedure on the vehicle, ensure that the relevant test equipment is working correctly and that any harness or connectors are in good condition. It is particularly important to check the condition of all plugs and leads of mains operated equipment.

Polarity
Never reverse connect the vehicle battery and always ensure the correct polarity when connecting test equipment.

High voltage circuits
Whenever disconnecting live ht circuits, always use insulated pliers and never allow the open end of the ht lead to contact other components, particularly ECU's.

Vehicles fitted with Bi-Xenon headlamp bulbs

WARNING: The following precautions must be observed as failure to comply may result in exposure to ultra-violet rays, severe electric shock, burns or risk of an explosion.

^ Safety goggles and gloves must be worn.
^ Ensure that headlamps are switched off before removing bulbs.
^ Do not touch the glass portion of the bulb.
^ On no account should headlamps be switched on with the bulb removed from the headlamp.
^ Bulb testing may only be carried out with the bulb fitted in the headlamp.
^ Bulbs must be disposed of in accordance with the local authority bye-laws.

Connectors and harnesses
The engine compartment of a vehicle is a particularly hostile environment for electrical components and connectors. Always observe the following:

^ Ensure electrically related items are dry and oil free before disconnecting/connecting test equipment.
^ Ensure that disconnected multiplugs and sensors are protected from any possible oil, coolant or other liquid contamination. Any such contamination could impair performance or lead to component failure.
^ Never force connectors apart or pull on the wiring harness.
^ Always ensure locking tabs are disengaged before disconnecting multiplugs etc. and ensure that correct orientation is achieved before connection.
^ Ensure that any protection covers, insulation etc. are replaced if disturbed.

Having confirmed that a component is faulty, carry out the following:
^ Switch off the ignition and disconnect the battery.
^ Remove the component and support the disconnected harness.
^ When replacing electrical components, keep oily hands away from electrical connections and ensure that locking tabs on connectors are fully engaged.

Battery Disconnection/Connection
Always refer to the Electrical Section of this manual - Battery Connection/Disconnection prior to attempting to connect or disconnect the battery.

Fuel Handling Precautions
The following information lists basic precautions which must be observed if fuel is to be handled safely. It also outlines other areas of risk which must not be ignored. As this information is issued for basic guidance only, consult your local Fire Department where any doubt as to personal and environmental safety exists - See also Health and Safety Precautions.

General precautions
Always have the correct type of fire extinguisher containing Foam, CO2, Gas or powder accessible when handling or draining fuel or dismantling fuel systems. Fire extinguishers must also be located in areas where fuel is stored.

Ensure that suitable warning signs are exhibited.
Keep all sources of ignition well away from areas where fuel is being handled.
Ensure that any leadlamps are flameproof and kept clear of spillage.

WARNING:
^ Do not disassemble or reassemble fuel system components whilst vehicle is over a pit
^ No one should be permitted to repair components associated with fuel without first having specialist training
.

Always disconnect the vehicle battery before carrying out disassembly, reassembly or draining work on a fuel system.

Fuel tank and system draining
Draining must be carried out in accordance with the procedures given in the relevant Fuel System section of this manual.

WARNING:
^ Never drain fuel or work on a fuel system while the vehicle is over a pit. Extraction or draining of fuel must be carried out in a well ventilated area.
^ Always attach fuel vapor warning labels to fuel tanks immediately after draining.
^ Containers used for storing fuel must be clearly marked with the contents and placed in a safe storage area which meets the requirements of the local authority
.

CAUTION: Some fuel lines are now fitted with 'quick release' connectors. If a connector is damaged, no attempt must be made to repair the connector, a new fuel line and connector(s) assembly must be fitted.

Always release pipe clips fully before attempting to disconnect fuel pipes.

Fuel tank repairs

CAUTION: No attempt should be made to repair a plastic fuel tank. If the structure of the tank is damaged, a new tank must be fitted.

Oil seals
Always renew oil seals which have been removed either as an individual component or as part of an assembly. Never use a seal which has been improperly stored or handled.
^ Take great care when removing old seals that the sealing surfaces and seal housing are not damaged.
^ Carefully examine seal before fitting to ensure that it is clean and undamaged.
^ Ensure that the surface on which the seal is to run and also the seal housing is clean and free from burrs or scratches. Renew the component if the sealing surface cannot be restored.
^ Special tools and protection sleeves are provided for fitting the majority of seals and must be used when specified.
^ Many seals are now coated with a protective wax and DO NOT need to be lubricated prior to fitting. Always check the relevant repair procedure which will state if a seal must be fitted dry. Never touch these seals with oily hands as the oil will contaminate the protective coating and affect the sealing properties of the seal; also, ensure that fitting tools and protection sleeves are free from oil and grease. Seals which must be lubricated prior to fitting should have the recommended lubricant applied to the areas specified in the repair procedure.
^ Ensure that a seal is fitted the correct way round. For example, the lip of the seal must face towards the lubricant which it is sealing.
^ When fitting an oil seal, ensure that it is positioned square to shaft and housing. Where the seal is to be fitted to a housing prior to fitting over a shaft, take care not to allow the weight of an unsupported shaft to rest on the seal.





^ Always use the recommended special tool and protection sleeve to fit an oil seal. If no tool is specified, use a suitable mandrel approximately 0.4 mm (0.015 in) smaller than the outside diameter of the seal. Use adhesive tape on the shaft to protect the sealing lip of the seal.





^ Press or drift the seal in to the depth of its housing if the housing is shouldered or flush with the face of the housing where no shoulder is provided. Ensure that the seal is not tilted in the housing when it is fitted.

Supplementary Restraint System (SRS) Precautions

WARNING: Do not fit rear facing child seats in the front passenger seat.

The SRS contains components which are potentially hazardous to service personnel if not handled correctly. The following guidelines and precautions are intended to alert personnel to potential sources of danger and emphasise the importance of ensuring the integrity of the SRS components fitted to the vehicle.

WARNING: The following precautions MUST be adhered to when working on the SRS system:
^ The correct procedures must always be used when working on SRS components.
^ Persons working on the SRS system must be fully trained and have been issued with the safety guidelines.
^ The airbag modules contain extremely flammable and hazardous compounds. Contact with water, acids or heavy metals may produce harmful or explosive results. Do not dismantle, incinerate or bring into contact with electricity before the unit has been deployed.
^ Always replace a seat belt assembly that has withstood the strain of a severe vehicle impact or if the webbing shows signs of fraying.
^ Always disconnect the vehicle battery before carrying out any electric welding on a vehicle fitted with an SRS system
.

CAUTION: Do not expose airbag modules or seat belt pre-tensioners to temperatures exceeding 85 degrees C (185 degrees F).

It should be noted that these precautions are not restricted to operations performed when servicing the SRS system. The same care should be exercised when working on ancillary systems and components located in the vicinity of SRS components; these include but are not limited to:
^ Steering wheel airbag, rotary coupler.
^ Passenger front airbag.
^ Side curtain airbag modules - front and rear.
^ Seat belt pre-tensioners.
^ SRS harnesses, link leads and connectors.
^ Side (thorax) air bags.

Making the system safe
Before working on or in the vicinity of SRS components, ensure the system is rendered safe by performing the following operations:
^ Remove the remote control.
^ Disconnect battery, earth lead first.
^ Wait 2 minutes for the SRS power circuit to discharge before commencing work.

NOTE: The SRS uses energy reserve capacitors to keep the system active in the event of electrical supply failure under crash conditions. It is necessary to allow the capacitors sufficient time to discharge (2 minutes) in order to avoid the risk of accidental deployment.

Installation
In order to ensure system integrity, it is essential that the SRS system is regularly checked and maintained so that it is ready for effective operation in the event of a collision. Carefully inspect SRS components before installation. Do not install a part that shows signs of being dropped or improperly handled, such as dents, cracks or deformation.

WARNING: The integrity of the SRS systems is critical for safety reasons. Ensure the following precautions are always adhered to:
^ Do not fit accessories or other objects to trim panels which cover airbags.
^ Never install used SRS components from another vehicle or attempt to repair an SRS component.
^ When repairing an SRS system, only use genuine new parts.
^ Never apply electrical power to an SRS component unless instructed to do so as part of an approved test procedure.
^ Special fixings are necessary for installing an airbag module - do not use other fixings.
^ Always use new fixings when replacing an SRS component and ensure that all fixings are tightened to the correct torque
.

CAUTION:
^ Take care not to trap airbag modules when fitting interior trim components.
^ Ensure SRS components are not contaminated by oil or grease
.

NOTE:
^ Following seat belt pre-tensioner deployment, the seat belts can still be used as conventional seat belts but will need to be replaced as soon as possible to ensure full SRS protection. Do not use the seat belts if the retraction mechanism is not working correctly.
^ If the SRS components are to be replaced, the part number/bar code of the new unit must be recorded.

SRS component testing precautions
The SRS components are triggered using relatively low operating currents, always adhere to the following:

WARNING: Never use a multimeter or other general purpose equipment on SRS components. Use only Land Rover approved diagnostic equipment to diagnose system faults.





WARNING: Do not use electrical test equipment on the SRS harness while it is connected to any of the SRS components, it may cause accidental deployment and injury.

Handling and storage

Always observe the following precautions when handling SRS components:





^ Never drop an SRS component. The airbag diagnostic control unit is a particularly shock sensitive device and must be handled with extreme care. Airbag modules and seat belt pre-tensioners could deploy if subjected to a strong shock.
^ Never wrap your arms around an airbag module. If a module has to be carried, hold it by the cover with the cover uppermost and the base away from your body.
^ Never transport airbag modules or seat belt pre-tensioners in the passenger compartment of a vehicle. Always transport airbag modules or seat belt pretensioners in their original packaging in the luggage compartment of the vehicle.
^ Never attach anything to an airbag cover or any trim component covering an airbag module. Do not allow anything to rest on top of an airbag module.
^ Always keep components cool, dry and free from contamination.
^ Never apply grease or cleaning solvents to seat belt pre-tensioner units, component failure could result.
^ Always store an airbag module with the deployment side uppermost. If it is stored deployment side down, accidental deployment will propel the airbag module with sufficient force to cause serious injury.
^ Keep new airbag modules in their original packaging until just prior to fitting. Place the old module in the empty packaging for carriage.





WARNING:
^ When handling a side curtain airbag module, hold by the gas generator housing, DO NOT hold by the airbag. Do not wrap the thumb around the gas generator while holding. Do not drape airbag over shoulder or around neck. For seat buckle type pre-tensioners, hold by the piston tube, with the open end of the piston tube pointing towards the ground and the buckle facing away from your body. Do not cover the end of the piston tube. DO NOT hold buckle type pre-tensioners by the bracket assembly or cable. Never point the piston tube towards your body or other people.
^ Airbag modules and seat belt pre-tensioners are classed as explosive devices. For overnight and longer term storage, they must be stored in a secure steel cabinet which has been approved as suitable for the purpose and has been registered with the local authority.
^ Store airbag modules or seat belt pre-tensioners in a designated storage area. If there is no designated storage area available, store in the locked luggage compartment of the vehicle and inform the workshop supervisor
.

CAUTION: Improper handling or storage can internally damage the airbag module making it inoperative. If you suspect the airbag module has been damaged, install a new module and refer to the deployment/disposal procedures for disposal of the damaged module.