Operation CHARM: Car repair manuals for everyone.
Manuals through 2025 now available!

Our trusted friends have launched a new website named LEMON, which has newer manuals. It also contains all the CHARM manuals.

LEMON is the spiritual successor to CHARM, I recommend you try it!

Link: lemon-manuals.la or lemon-manuals.org.ua

(Some people have issue connecting. LEMON is investigating. For now, use Firefox or change your DNS server)

Or, hide this message: temporarily or permanently

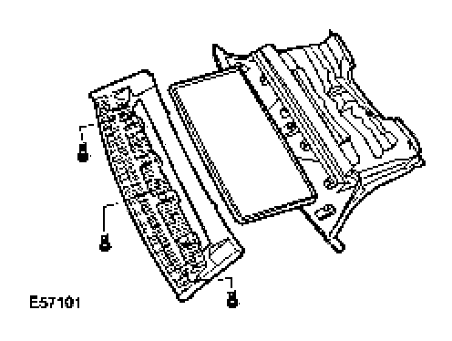
Heater Core Case: Service and Repair



Plenum Chamber

Service Repair No - 80.15.62


Removal
1. Secure the hood in the service position.
^ Release the support struts.
2. Disconnect the battery ground cable.
3. Release the hood seal from the plenum chamber.







4. Disconnect the battery positive cable from the bulkhead.
^ Release the cover.
^ Remove the nut.
5. Remove the plenum chamber.
^ Remove the 2 nuts.







6. Remove the air intake cover.
^ Remove the 3 screws.

NOTE: Do not disassemble further if the component is removed for access only.

7. Remove the pollen filter.







Installation
1. Install the pollen filter.
2. Install the air intake cover.
^ Tighten the screws.
3. Install the plenum chamber.
^ Tighten the nuts to 10 Nm (7 ft. lbs.).
4. Connect the battery positive cable.
^ Tighten the nut to 20 Nm (15 ft. lbs.).
^ Secure the cover.
5. Attach the hood seal.
6. Connect the battery ground cable.
7. Connect the hood support struts.