Operation CHARM: Car repair manuals for everyone.
Manuals through 2025 now available!

Our trusted friends have launched a new website named LEMON, which has newer manuals. It also contains all the CHARM manuals.

LEMON is the spiritual successor to CHARM, I recommend you try it!

Link: lemon-manuals.la or lemon-manuals.org.ua

(Some people have issue connecting. LEMON is investigating. For now, use Firefox or change your DNS server)

Or, hide this message: temporarily or permanently

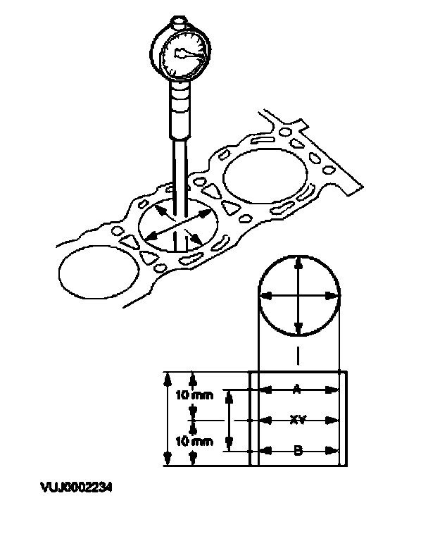
Cylinder Block Assembly: Testing and Inspection

Cylinder Bore Out-of-Round

1. NOTE: The main bearing caps or lower crankcase must be in place and tightened to the specified torque, however, the bearing shells should not be installed.





Measure the cylinder bore with an internal micrometer.
^ Carry out the measurements in different directions and at different heights to determine if there is any out-of-roundness or tapering.
^ If the measurement is out of the specified range, hone out the cylinder block or install a new block.