Operation CHARM: Car repair manuals for everyone.
Manuals through 2025 now available!

Our trusted friends have launched a new website named LEMON, which has newer manuals. It also contains all the CHARM manuals.

LEMON is the spiritual successor to CHARM, I recommend you try it!

Link: lemon-manuals.la or lemon-manuals.org.ua

(Some people have issue connecting. LEMON is investigating. For now, use Firefox or change your DNS server)

Or, hide this message: temporarily or permanently

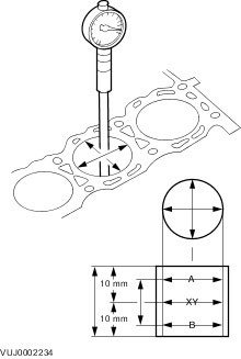
Cylinder Block Assembly: Testing and Inspection

Cylinder Bore Out-of-Round

NOTE: The main bearing caps or lower crankcase must be in place and tightened to the specified torque-, however, the bearing shells should not be installed.

1. Measure the cylinder bore with an internal micrometer.
^ Carry out the measurements in different directions and at different heights to determine if there is any out-of-roundness or tapering.
^ If the measurement is out of the specified range, hone out the cylinder block or install a new block.