Operation CHARM: Car repair manuals for everyone.
Manuals through 2025 now available!

Our trusted friends have launched a new website named LEMON, which has newer manuals. It also contains all the CHARM manuals.

LEMON is the spiritual successor to CHARM, I recommend you try it!

Link: lemon-manuals.la or lemon-manuals.org.ua

(Some people have issue connecting. LEMON is investigating. For now, use Firefox or change your DNS server)

Or, hide this message: temporarily or permanently

Inspection Procedure

INSPECTION PROCEDURE

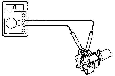
1. Check operation of Vacuum Switching Valve for Fuel Pressure Control
- Remove Vacuum Switching Valve and disconnect connector.





- Measure resistance between terminals.

Resistance: 37 to 44 ohms at 20°C (68°F)





- Measure resistance between each terminal and the body.

Resistance: 1 Mega ohms or higher





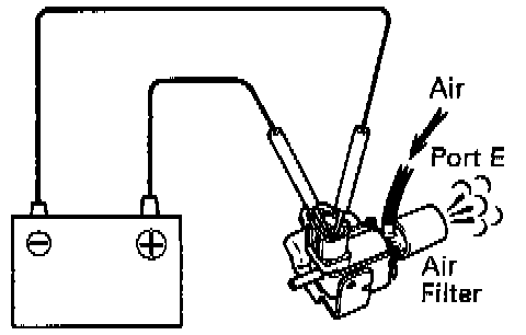
- Check operation of Vacuum Switching Valve when battery voltage is applied to the terminals of Vacuum Switching Valve connector or not. Battery voltage is applied: The air from port E is flowing out through the air filter.





- Battery voltage is not applied: The air from port E is flowing out through port G.
- If OK proceed to step 2.
- If not OK replace Vacuum Switching Valve.
2. Check voltage between terminal FPU of Engine Control Module connector and body ground.





- Connect the Check Harness A.
- Turn Ignition Switch ON.
- Measure voltage between terminal FPU of Engine Control Module connector and body ground.

Voltage: 9 to 14 volts

- If OK proceed to DIAGNOSIS BY SYMPTOM.
- If not OK proceed to step 3.
3. Check for open and short in harness and connector between Engine Control Module and Vacuum Switching Valve, Vacuum Switching Valve and EFI Main Relay.
- If OK check and replace Engine Control Module.
- If not OK repair or replace harness or connector.