Operation CHARM: Car repair manuals for everyone.
Manuals through 2025 now available!

Our trusted friends have launched a new website named LEMON, which has newer manuals. It also contains all the CHARM manuals.

LEMON is the spiritual successor to CHARM, I recommend you try it!

Link: lemon-manuals.la or lemon-manuals.org.ua

(Some people have issue connecting. LEMON is investigating. For now, use Firefox or change your DNS server)

Or, hide this message: temporarily or permanently

Power Mirror Control System

MIRROR SWITCH INSPECTION

1. INSPECT SWITCH CONTINUITY








Left Side





Right Side
If continuity is not as specified. replace the switch. If continuity is as specified. inspect the switch circuit.








2. INSPECT SWITCH CIRCUIT
Disconnect the connector from the tilt and telescopic ECU and inspect the connector on wire harness side. as shown.

If the circuit is not as specified, inspect the circuits connected to other parts.





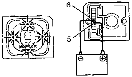
3. INSPECT INDICATOR LIGHT OPERATION
Connect the positive (+) lead from the battery to terminal 5 and the negative (-) lead to terminal 6, and check that the indicator light does not light up, replace the switch.

MIRROR MOTOR INSPECTION

w/o Driving position memory

INSPECT MIRROR MOTOR OPERATION





a. Connect the positive (+) lead from the battery to terminal 6 and negative (-) lead to terminal 5, then check that the mirror turns to left side.
b. Reverse the polarity and check that the mirror turns to right side.





c. Connect the positive (+) lead from the battery to terminal 4 and negative (-) lead to terminal 5, then check that the mirror turns upward.
d. Reverse the polarity and check that the mirror turns downward.

w/ Driving position memory

1. INSPECT MIRROR MOTOR OPERATION





a. Connect the positive (+) lead from the battery to terminal 8 and negative (-) lead to terminal 7, then check that the mirror turns to left side.
b. Reverse the polarity and check that the mirror turns to right side.





c. Connect the positive (+) lead from the battery to terminal 3 and negative (-) lead to terminal 7, then check that the mirror turns upward.
d. Reverse the polarity and check that the mirror turns downward.





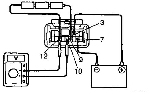
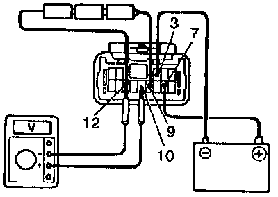
2. INSPECT MIRROR POSITION SENSORS

HINT: Strip off the vinyl tape of the connector and remove terminals 3, 7. 8. 9 and 12 from the connector housing.

a. Connect a series of three 1.5 V dry cell batteries.
b. Connect the positive (+) lead from the dry cell batteries to terminal 9 and the negative (-) lead to terminal 12.
c. Connect the positive (+) lead from the voltmeter to terminal 10 and the negative (-) lead to terminal 12.








d. Apply battery positive voltage to terminals 3 and 7. then check that the voltage gradually changes according to the table below while the mirror moves between the uppermost position and lowermost position.

If voltage value is not as specified, replace the motor assembly.











e. Disconnect the 4 leads of the battery and voltmeter.
f. Connect the positive (+) lead from the voltmeter to terminal 11 and negative (-) lead to terminal 12.
g. Apply battery positive voltage to terminals 7 and 8, then inspect that the voltage gradually changes according to the table below while the mirror moves between the left-most position and right-most position.

If voltage value is not as specified, replace the motor assembly.

DRIVING POSITION MEMORY AND RETURN SWITCH








1. INSPECT SWITCH CONTINUITY

If continuity is not as specified. replace the switch.
If continuity is as specified, inspect the switch circuit.








2. INSPECT SWITCH CIRCUIT
Disconnect the connector from the driver door ECU and inspect the connector on wire harness side, as shown.

If the circuit is not as specified, replace the wire harness.