Operation CHARM: Car repair manuals for everyone.
Manuals through 2025 now available!

Our trusted friends have launched a new website named LEMON, which has newer manuals. It also contains all the CHARM manuals.

LEMON is the spiritual successor to CHARM, I recommend you try it!

Link: lemon-manuals.la or lemon-manuals.org.ua

(Some people have issue connecting. LEMON is investigating. For now, use Firefox or change your DNS server)

Or, hide this message: temporarily or permanently

Control Assembly: Testing and Inspection

A/C CONTROL ASSEMBLY INSPECTION

For Illumination:





1. INSPECT ILLUMINATION OPERATION
(A/C Control Assembly)
Connect the positive (+) lead from the battery to terminal 29 and the negative (-) lead to terminal 11 and then check that the illumination lights up. If operation is not as specified, proceed next inspection.

2. INSPECT ILLUMINATION OPERATION (A/C Control Panel)





a. Separate the A/C control panel and amplifier
Control Module HVAC

For LCD Lighting:
b. Connect the positive (+) lead from the battery terminal 102 and negative (-) terminal lead to 104 and then check that the illumination lights up.





For Night Lighting:
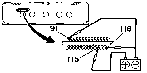
c. Connect the positive (+) lead from the battery terminal 115 and negative (-) lead to terminal and 91, 118 and then check that the illumination lights up. If operation is as specified, replace the A/C amplifier. If operation is not as specified, proceed next inspection.








3. INSPECT BULB CIRCUIT RESISTANCE
If resistance is not as specified. replace the A/C control panel.
If operation is as specified, test the bulbs.

For Switch Operation:








1. INSPECT SWITCHES OPERATION
(A/C CONTROL ASSEMBLY)
a. Connect the positive (+) lead from the battery to terminal 2 and negative (-) lead to terminal 11.
b. Connect the positive (+) lead from the battery to each terminal through a 1.4 W test bulb, as shown in the chart.
c. Push the each of the bottom in and then check that the indicator and test bulb light up.
If operation is not as specified, proceed next inspection.

2. INSPECT SWITCH OPERATION (A/C CONTROL PANEL)
Indicator:




a. Separate the amplifier and control panel.





b. Connect two 1.5 V dry cell batteries to the terminals in the table, and then check that the indicators light up.

NOTE:
^ The indicator lamp uses LEDs so do not mix up the positive (+) and negative (-) terminal of the dry cell batteries.
^ To protect the LEDs. inspect each indicator for no more than 3 seconds each time.








Continuity:
Check that there is continuity between terminals while the switch is pressed.