Operation CHARM: Car repair manuals for everyone.
Manuals through 2025 now available!

Our trusted friends have launched a new website named LEMON, which has newer manuals. It also contains all the CHARM manuals.

LEMON is the spiritual successor to CHARM, I recommend you try it!

Link: lemon-manuals.la or lemon-manuals.org.ua

(Some people have issue connecting. LEMON is investigating. For now, use Firefox or change your DNS server)

Or, hide this message: temporarily or permanently

Power Window Motor: Testing and Inspection

POWER WINDOW MOTOR INSPECTION

1. INSPECT MOTOR OPERATION
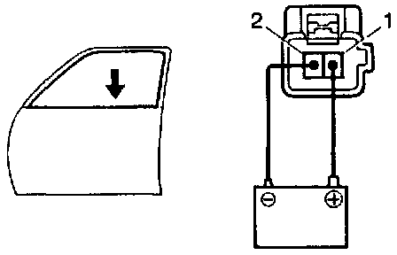
Driver's and Rear RH Side Door





a. Connect the positive (+) lead from the battery to terminal 1 and the negative (-) lead to terminal 2. and~ check that the motor turns clockwise.





b. Reverse the polarity and check that the motor turns counterclockwise.
If operation is not as specified, replace the motor.

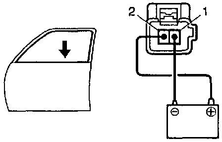
Front Passenger's and Rear LH Side Door





a. Connect the positive (+) lead from the battery to terminal 1 and the negative (-) lead to terminal 2, and check that the motor turns clockwise.





b. Reverse the polarity and check that the motor turns counterclockwise.
If operation is not as specified, replace the motor.

2. INSPECT PTC THERMISTOR OPERATION
Driver's door and Rear RH door

a. Disconnect the connector from the driver door ECU.





b. Connect the positive (+) lead from the ammeter to terminal 2 on the wire harness side connector and the negative (-) lead to negative terminal of the battery.
c. Connect the positive (+) lead from the battery to terminal 1 on the wire harness side connector, and raise the window to the fully position.
d. Continue to apply voltage, and check that the current changes to less than 1 A with 4 to 90 seconds.
e. Disconnect the leads from terminals.





f. Approximately 60 seconds later, connect the positive (+) lead from the battery to terminal 2 and negative (-) lead to terminal 1, and check that the window begins to descend.

If operation is not as specified, replace the motor.

Front Passenger's door and Rear LH door
a. Disconnect the connector from the front passenger door ECU.





b. Connect the positive (+) lead from the ammeter to terminal 1 on the wire harness side connector and the negative (-) lead to negative terminal of the battery.
c. Connect the positive (+) lead from the battery to terminal 2 on the wire harness side connector. and raise the window to the fully position.
d. Continue to apply voltage and check that the current changes to less than 1 A within 4 to 90 seconds.
e. Disconnect the leads from the terminals.



f. Approximately 60 seconds later, connect the positive (+) lead from the battery to terminal 1 and the negative (-) lead to terminal 2, and check that the window begins to descend.
If operation is not as specified, replace the motor.








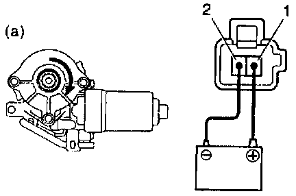
3. INSPECT MOTOR CIRCUIT
a. Disconnect the connector from the motor.
b. Connect the connector to the driver door ECU, front passenger door ECU and body ECU.
c. Inspect the connector on the wire harness side, as shown.
*: Set the window lock switch to the unlock position. If the circuit is not as specified. inspect the circuits connected to other parts.