Operation CHARM: Car repair manuals for everyone.
Manuals through 2025 now available!

Our trusted friends have launched a new website named LEMON, which has newer manuals. It also contains all the CHARM manuals.

LEMON is the spiritual successor to CHARM, I recommend you try it!

Link: lemon-manuals.la or lemon-manuals.org.ua

(Some people have issue connecting. LEMON is investigating. For now, use Firefox or change your DNS server)

Or, hide this message: temporarily or permanently

Component Inspection

Driver's door:
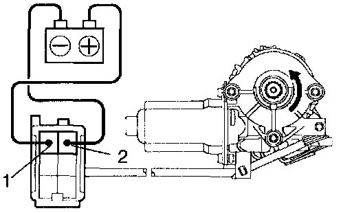
INSPECT POWER WINDOW MOTOR OPERATION





a. Connect the positive (+) lead from the battery to terminal 2 and the negative (-) lead to terminal 1, and check the motor turns clockwise.




b. Reverse the polarity and check that the motor turns counterclockwise.
If operation is not as specified, replace the motor.

Front passengers:
INSPECT POWER WINDOW MOTOR OPERATION





a. Connect the positive (+) lead from the battery to terminal 2 and the negative (-) lead to terminal 1, and check that the motor turns clockwise.




b. Reverse the polarity and check that the motor turns counterclockwise.
If operation is not as specified, replace the motor.

Rear left side:
INSPECT POWER WINDOW MOTOR OPERATION





a. Connect the positive (+) lead from the battery to terminal I and the negative (-) lead to terminal 2, and check that the motor turns clockwise.




b. Reverse the polarity and check that the motor turns counterclockwise.
If operation is not as specified, replace the motor.

Rear right side:
INSPECT POWER WINDOW MOTOR OPERATION





a. Connect the positive (+) lead from the battery to terminal 1 and the negative (-) lead to terminal 2, and check that the motor turns clockwise.




b. Reverse the polarity and check that the motor turns counterclockwise.
If operation is not as specified, replace the motor.

INSPECT POWER WINDOW MOTOR PTC THERMISTOR OPERATION
Driver's door:





a. Disconnect the connector from the driver door ECU.
b. Connect the positive (+) lead from the ammeter to terminal 1 on the wire harness side connector and the negative (-) lead to negative terminal of the battery.
c. Connect the positive (+) lead from the battery to terminal 2 on the wire harness side connector, and raise the window to the fully position.




d. Continue to apply voltage, and check that the current changes to less than 1 A with 4 to 90 seconds.
e. Disconnect the leads from terminals.
f. Approximately 60 seconds later, connect the positive (+) lead from the battery to terminal 1 and negative (-) lead to terminal 2, and check that the window begins to descend.
If operation is not as specified, replace the motor.

INSPECT POWER WINDOW MOTOR PTC THERMISTOR OPERATION
Front Passenger's door:





a. Disconnect the connector from the front passenger do ECU.
b. Connect the positive (+) lead from the ammeter to terminal 2 on the wire harness side connector and the negative (-) lead to negative terminal of the battery.
c. Connect the positive (+) lead from the battery to terminal 1 on the wire harness side connector, and raise the window to the fully position.




d. Continue to apply voltage and check that the current changes to less than 1 A within 4 to 90 seconds.
e. Disconnect the leads from the terminals.
f. Approximately 60 seconds later, connect the positive (+) lead from the battery to terminal 2 and the negative (-) lead to terminal 1, and check that the window begins to descend.
If operation is not as specified, replace the motor.

INSPECT POWER WINDOW MOTOR PTC THERMISTOR OPERATION
Rear LH door:





a. Disconnect the connector from the Rear LH door ECU.
b. Connect the positive (+) lead from the ammeter to terminal wire harness side connector and the negative (-)led to negative terminal of the battery
c. Connect the positive (+) lead from the battery to terminal 2 on the wire harness side connector, and raise the window to the fully position.




d. Continue to apply voltage and check that the current changes to less than 1 A within 4 to 90 seconds.
e. Disconnect the leads from the terminals.
f. Approximately 60 seconds later, connect the positive (+) lead from the battery to terminal 1 and the negative (-) lead to terminal 2, and check that the window begins to descend.
If operation is not as specified, replace the motor.

INSPECT POWER WINDOW MOTOR PTC THERMISTOR OPERATION
Rear RH door:





a. Disconnect the connector from the Rear RH door ECU.
b. Connect the positive (+) lead from the ammeter to terminal 2 on the wire harness side connector and the negative (-) lead to negative terminal of the battery.
c. Connect the positive (+) lead from the battery to terminal 1 on the wire harness side connector, and raise the window to the fully position.




d. Continue to apply voltage and check that the current changes to less than 1 A within 4 to 90 seconds.
e. Disconnect the leads from the terminals.
f. Approximately 60 seconds later, connect the positive (+) lead from the battery to terminal 2 and the negative (-) lead to terminal 1, and check that the window begins to descend.
If operation is not as specified, replace the motor.