Operation CHARM: Car repair manuals for everyone.
Manuals through 2025 now available!

Our trusted friends have launched a new website named LEMON, which has newer manuals. It also contains all the CHARM manuals.

LEMON is the spiritual successor to CHARM, I recommend you try it!

Link: lemon-manuals.la or lemon-manuals.org.ua

(Some people have issue connecting. LEMON is investigating. For now, use Firefox or change your DNS server)

Or, hide this message: temporarily or permanently

Motor Shift Control System

MOTOR SHIFT CONTROL SYSTEM





COMPONENTS

INSPECTION
1. INSPECT SWITCH POSITION
a. Start the engine, and shift the transfer shift lever to the "H" position.





b. Check that the center differential indicator light comes on when the the switch is in "ON" position. Check that the light goes off when the switch is in "OFF" position.
2. INSPECT SHIFT LEVER POSITION
a. Start the engine, and turn the center differential lock switch to OFF.





b. Check that the center differential indicator light comes on when the transfer shift lever is shifted to the "L" position. Check that the light goes off when the lever is shifted to the "N" or "H" position.





3. INSPECT CENTER DIFFERENTIAL LOCK CONTROL RELAY





a. Check that continuity exists between each terminal, as shown in the chart.
There is a diode between the terminals 6 and 7. If no continuity exists, check that continuity exists when changing the position of positive probe for the position of negative probe of tester.





b. Apply battery positive voltage between each terminal and check that continuity exists between each terminal, as shown in the chart.
If continuity is not as specified, replace the relay.





4. INSPECT ACTUATOR OPERATION
a. Raise up the front wheels, place the stopper under the rear wheels to block them, and pull up the parking brake.
b. Disconnect the connector of the actuator and connect it to the relay using wire.





c. Check that the front propeller shaft can be rotated by hand.





HINT: When inspecting the operation described above, use a heater main relay.





5. INSPECT MOTOR ACTUATOR (MOTOR)
a. Remove the motor actuator.
b. Measure the resistance between the terminals 1 and 5.

Standard resistance: 0.3 - 100 ohms

c. Measure the resistance between the terminals 1 or 5 and body ground.

Standard resistance: More than 0.5 ohms

If the resistance value is not as specified, replace the motor actuator.





6. INSPECT CENTER DIFFERENTIAL LOCK SWITCH CONTINUITY
a. Remove the center differential lock switch





b. Inspect the continuity between each terminal.





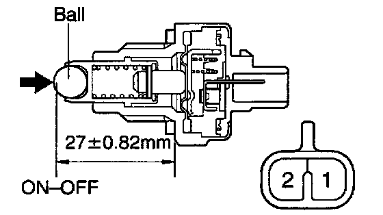
7. INSPECT L AND CENTER DIFFERENTIAL LOCK INDICATOR SWITCH CONTINUITY
a. Remove the L and center differential lock indicator switch.
b. Check that continuity exists between terminals 1 and 2 when pushing the ball at the tip of the switch.