Operation CHARM: Car repair manuals for everyone.
Manuals through 2025 now available!

Our trusted friends have launched a new website named LEMON, which has newer manuals. It also contains all the CHARM manuals.

LEMON is the spiritual successor to CHARM, I recommend you try it!

Link: lemon-manuals.la or lemon-manuals.org.ua

(Some people have issue connecting. LEMON is investigating. For now, use Firefox or change your DNS server)

Or, hide this message: temporarily or permanently

Power Window Switch (Master Switch)







INSPECT POWER WINDOW MASTER SWITCH CIRCUIT
Connector disconnected:

Disconnect the connectors from the switch and inspect the connector on the wire harness side.
If the circuit is not as specified, inspect the circuits connected to other parts.










INSPECT POWER WINDOW MASTER SWITCH CIRCUIT
Connector connected:

Connect the wire harness side connector to the power window switch and inspect the connector from the back side.
If circuit is not as specified, inspect the wire harness.

INSPECT POWER WINDOW MASTER SWITCH ILLUMINATION




a. Set the window lock switch to the unlock position.
b. Connect the positive (+) lead from the battery to terminal 15 and the negative (-) lead to terminal 16, and check that all the illuminations light up.
c. Connect the positive (+) lead from the voltmeter to terminal 15 and negative (-) lead to terminal 2, and check that the voltage meter needle indicates battery positive voltage.




d. Set the window lock switch to the lock position, check that all the passenger's power window switch illuminations go out.
e. Then, check that the voltage meter needle indicates no voltage.
If operation is not as specified, replace the master switch.







INSPECT POWER WINDOW SWITCH CIRCUIT
Connector disconnected:

Disconnect the connectors from the switch and inspect the connector on the wire harness side.
If the circuit is not as specified, inspect the circuits connected to other parts.







INSPECT POWER WINDOW SWITCH CIRCUIT
Connector connected:

Connect the wire harness side connector to the power window switch and inspect the connector from the back side.
If circuit is not as specified, inspect the wire harness.

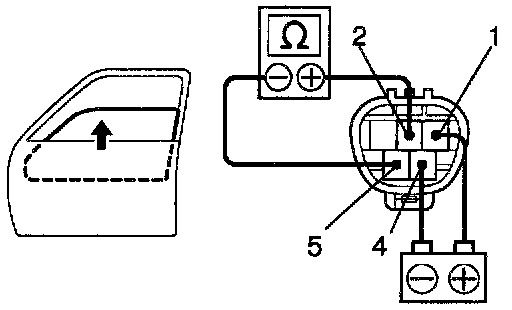
Window Up:
INSPECT JAM PROTECTION LIMIT SWITCH OPERATION





a. Connect the positive (+) lead from the ohmmeter to terminal 2 and the negative (-) lead to terminal 5.
b. Connect the positive (+) lead from the battery to terminal 1 and the negative (-) lead to terminal 4.
c. Check that the continuity exists when the window goes up.




d. Check that the no continuity exists when the window is in the fully closed position.
If operation is not as specified, replace the motor.

NOTE: If connecting the wire harness wrongly, the sensor might be damaged so caution is necessary.

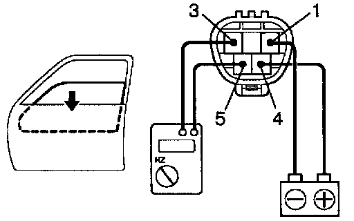
Window Down:
INSPECT JAM PROTECTION LIMIT SWITCH OPERATION





a. Connect the positive (+) lead from the ohmmeter to terminal 2 and the negative (-) lead to terminal 5.
b. Connect the positive (+) lead from the battery to terminal 4 and the negative (-) lead to terminal 1.
c. Check that the continuity exists when the window goes down.




d. Check that the no continuity exists when the window is in the fully opened position.
If operation is not as specified, replace the motor.

NOTE: If connecting the wire harness wrongly, the sensor might be damaged so caution is necessary.

INSPECT JAM PROTECTION PULSE SWITCH OPERATION




a. Connect the positive (+) lead from the LEXUS electrical tester to terminal 3 and the negative (-) lead to terminal 5.
b. Connect the positive (+) lead from the battery to terminal 1 and the negative (-) lead to terminal 4.
c. Check that pulse is generated during the motor running.




d. Reverse the polarity and check that pulse is generated.
If operation is not as specified, replace the motor.

NOTE: If connecting the wire harness wrongly, the sensor might be damaged so caution is necessary.