Operation CHARM: Car repair manuals for everyone.
Manuals through 2025 now available!

Our trusted friends have launched a new website named LEMON, which has newer manuals. It also contains all the CHARM manuals.

LEMON is the spiritual successor to CHARM, I recommend you try it!

Link: lemon-manuals.la or lemon-manuals.org.ua

(Some people have issue connecting. LEMON is investigating. For now, use Firefox or change your DNS server)

Or, hide this message: temporarily or permanently

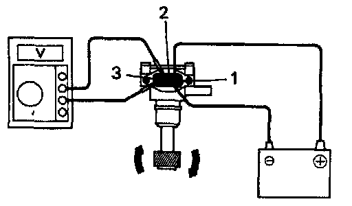
Vehicle Speed Sensor: Testing and Inspection




INSPECT NO.1 VEHICLE SPEED SENSOR OPERATION
a. Connect the positive (+) lead from battery to terminal 1 and negative (-) lead to terminal 2.
b. Connect the positive (+) lead from tester to terminal 3 and negative (-) lead to terminal 2.
c. Revolve shaft.
d. Check that there is voltage change from approx. 0 V to 11 V or more between terminal 2 and 3.

HINT: The voltage change should be 4 times for every revolution of the vehicle speed sensor shaft.

If operation is not as specified, replace the sensor.







INSPECT NO.1 VEHICLE SPEED SENSOR CIRCUIT
Disconnect the connector from the sensor and inspect the connector on the wire harness side.
If circuit is not as specified, inspect power source or wire harness.